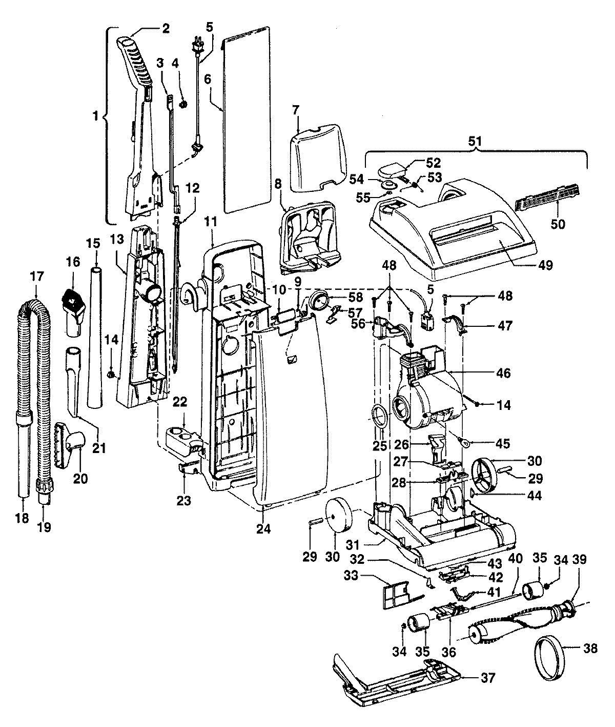
U5227930 02 – MAINBODY, HANDLE, OUTERBAGadmin2025-04-26T08:52:34+00:00U5227930 02 – MAINBODY, HANDLE, OUTERBAG ProductsPositionProductNIMAY 21447220NIMAY 58366099NIMAY 56511A07NIMAY 583690671MAY 486632042MAY 379110784NOT REQUIRED PART OR SEE NOTE FUSE (NOT REQUIRED)5MAY 463880276MAY 4010100Z7MAY 372571478MAY 364331259MAY 3835500810MAY 3615101311MAY 3725502112MAY 3845804613MAY 3946402514MAY 4020108515MAY 3863407816MAY 4341414617MAY 4343402418MAY 3228602519MAY 3237700520MAY 3861403621MAY 3861702622MAY 3643311323MAY 3642508124MAY 3725724224MAY 3725724324MAY 3725721724MAY 3725721424MAY 3725721325MAY 3878401626MAY 3845802227MAY 3856701427MAY 3856702528MAY 3856700929MAY 3152301230MAY 3852201131MAY 4224226632MAY 3457200233MAY 3871800534MAY 3613105635MAY 3852102336MAY 4324805936MAY 3643205537MAY 3724510638MAY 3852802739MAY 4841408140MAY 3256301241MAY 3845208942MAY 3856301343MAY 3835101244MAY 13261AY-45MAY 2731310146MAY 4357614247MAY 3613109048MAY 2144721749MAY 5166907049MAY 5166907549MAY 5166906650MAY 3938309751MAY 4225222951MAY 4225229251MAY 4225236451MAY 4225229851MAY 42252A0452MAY 3725717553MAY 3835101154MAY 3878405655MAY 2136200656MAY 3861302957MAY 5115100458MAY 38733002