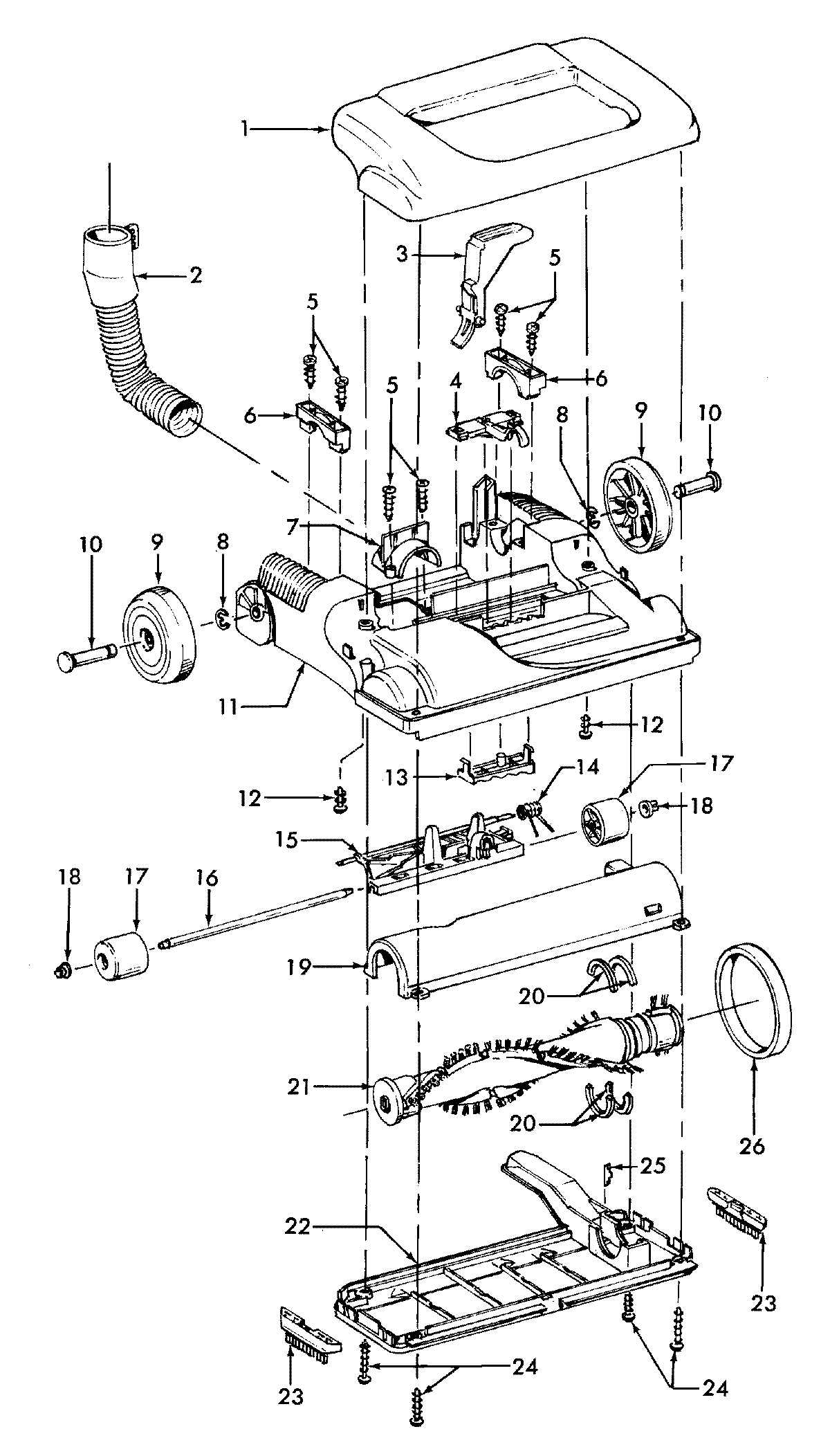
U5433916 01 – AGITATOR, MAINBODYadmin2025-04-26T08:50:51+00:00U5433916 01 – AGITATOR, MAINBODY ProductsPositionProduct1MAY 372532952MAY 434312153MAY 384580435MAY 214470726MAY 361310947MAY 361710448MAY 160017--9MAY 3852207710MAY 3243400811MAY 3724212612MAY 2144722813MAY 4030900414MAY 3835501015MAY 3643202716MAY 3254100317MAY 3852100418MAY 3613105619MAY 3724302720MAY 3878105321MAY 4841405722MAY 3724501023MAY 3951100424MAY 2144712125MAY 13261AY-26MAY 38528033