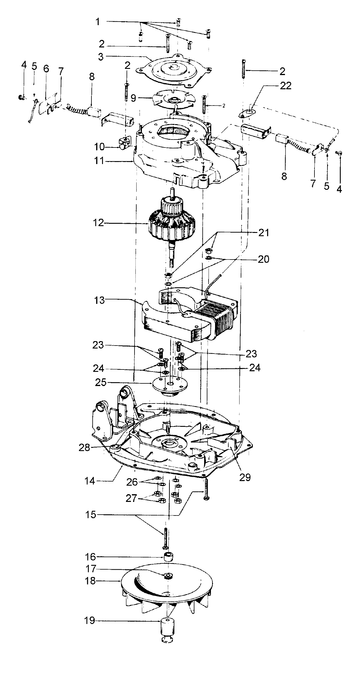
U7049— 05 – MOTOR ASSEMBLY