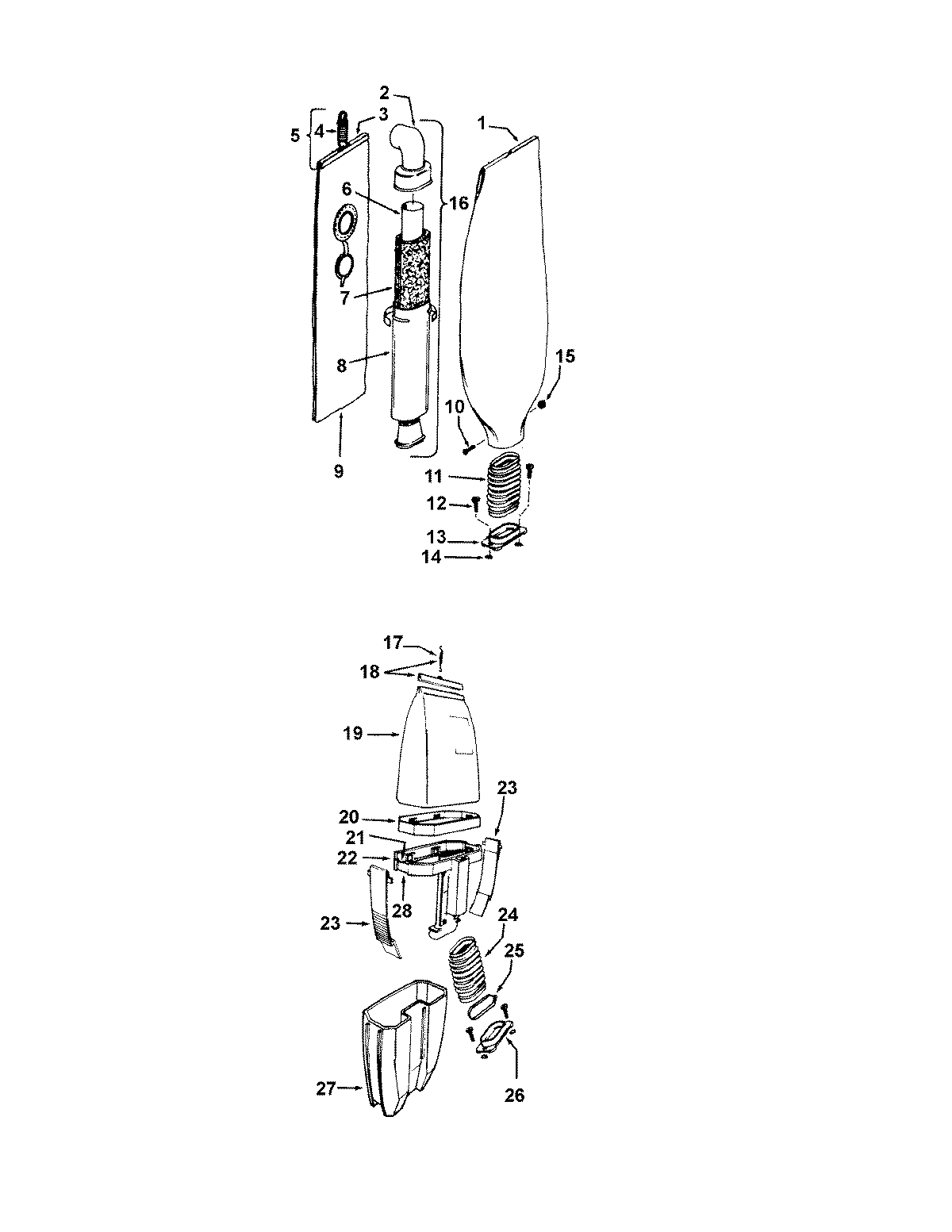
U7071— 02 – DIRTCUP, OUTERBAG