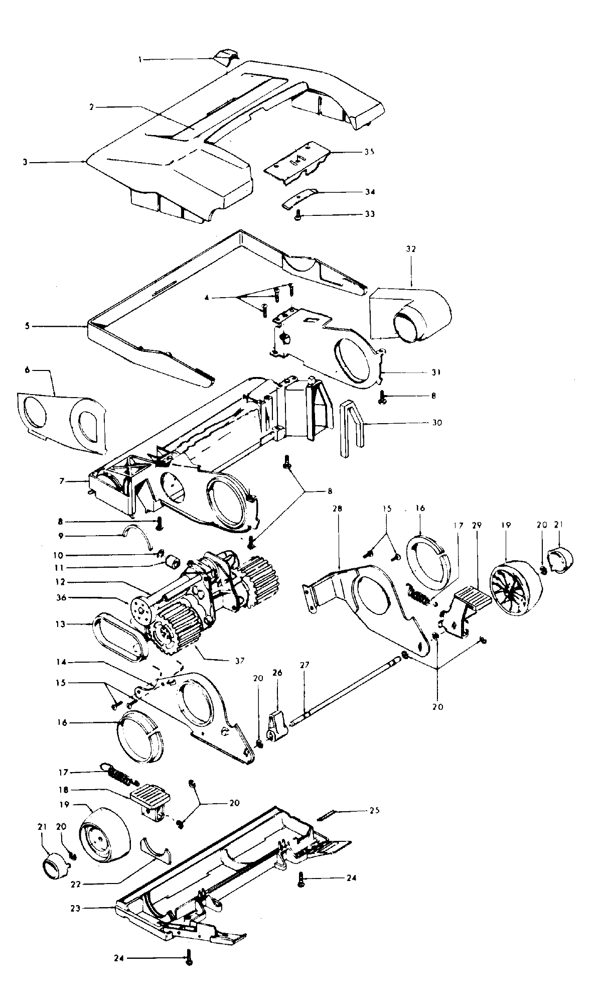
U7097— 04 – HOODadmin2025-04-26T08:51:11+00:00U7097— 04 – HOOD ProductsPositionProductNIMAY 213127771MAY 384210272MAY 518310013MAY 372532394MAY 214470035MAY 362350826MAY 369130187MAY 422460648MAY 214470149MAY 012173--10MAY 163699--11MAY 3114201412MAY 4312400913MAY 160147AG14MAY 3547601215MAY 2144722916MAY 3215500417MAY 3833501418MAY 3845207119MAY 3852203220MAY 013730--21MAY 3791201322MAY 3878100623MAY 3724508724MAY 2176650525MAY 3412201926MAY 3845204827MAY 3254700228MAY 4196700429MAY 3845205929MAY 3845205830MAY 3412300331MAY 3547602732MAY 3865602333MAY 2144720334MAY 3475100235MAY 3856301836MAY 3853700137MAY 163340AG