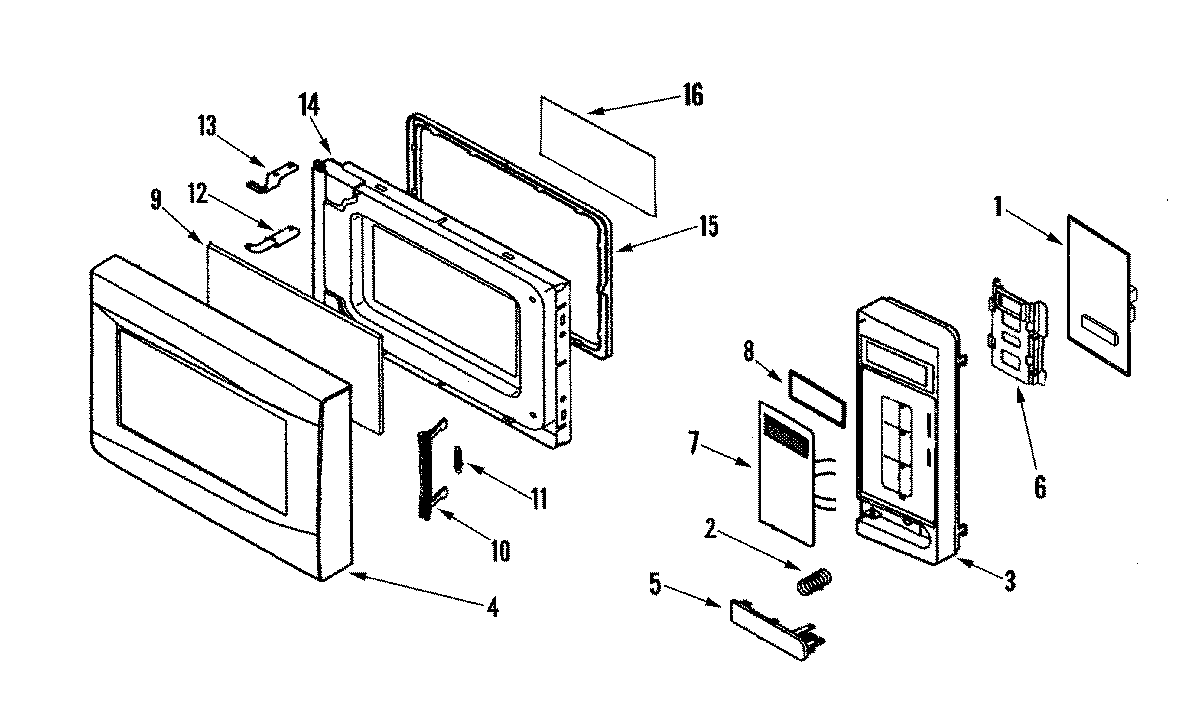
UMC1071AAB 02 – CONTROL PANEL/DOOR ASSEMBLY