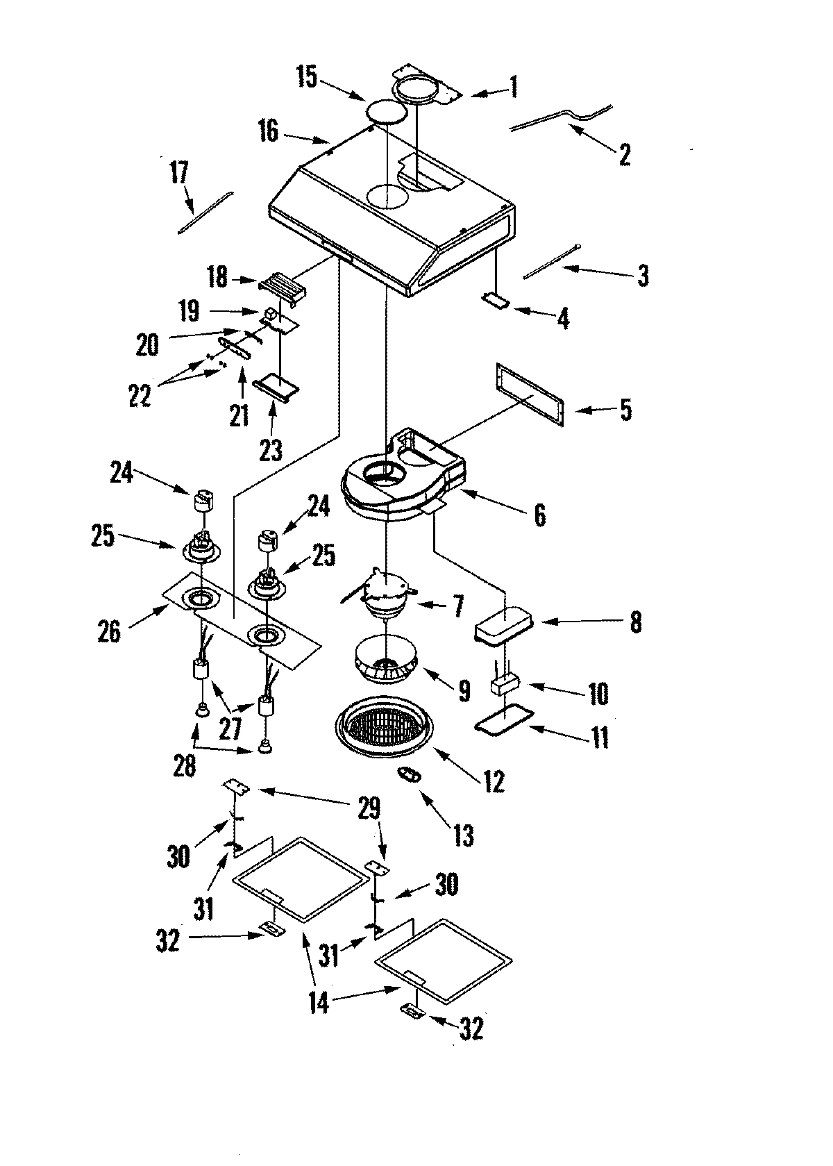
UXT5230ADS 01 – HOOD COMPONENTS (COMPLETE)admin2025-04-26T08:52:22+00:00UXT5230ADS 01 – HOOD COMPONENTS (COMPLETE) ProductsPositionProductNIMAY 49001182NIMAY 49001163NIMAY 49001008NIMAY 490011961MAY 490010572MAY 490010583MAY 490010594MAY 490010135MAY 490010606MAY 490010617MAY 490011288MAY 490010639MAY 4900106410MAY 4900106511MAY 4900106612MAY 4900106713MAY 4900106814MAY 4900111715MAY 4900101016MAY 4900112317MAY 4900107218MAY 4900112519MAY 4900112620MAY 4900118921MAY 4900113222MAY 4900113623MAY 4900114024MAY 4900113125MAY 4900114525MAY 4900114826NOT REQUIRED PART OR SEE NOTE FUSE (NOT REQUIRED)26MAY 4900114927MAY 4900132427MAY 4900115228MAY 4900118728MAY 4900115429MAY 4900108332MAY 49001086