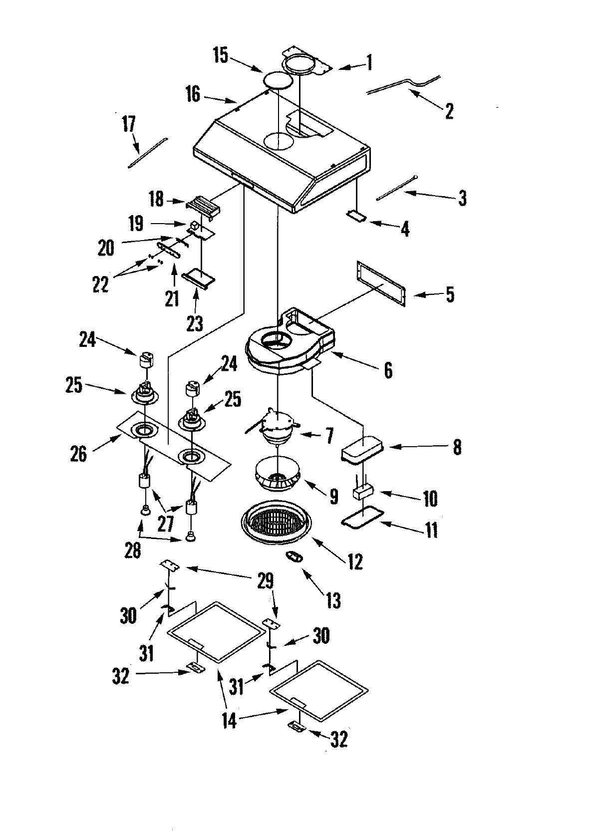
UXT5230ADW 01 – HOOD COMPONENTS (COMPLETE)admin2025-04-26T08:52:32+00:00UXT5230ADW 01 – HOOD COMPONENTS (COMPLETE) ProductsPositionProductNIMAY 49001163NIMAY 49001008NIMAY 49001194NIMAY 490011821MAY 490010872MAY 490010583MAY 490010594MAY 490010135MAY 490010606MAY 490010617MAY 490011288MAY 490010639MAY 4900106410MAY 4900106511MAY 4900106612MAY 4900106713MAY 4900106814MAY 4900111915MAY 4900108916MAY 4900112417MAY 4900107218MAY 4900112519MAY 4900112920MAY 4900119021MAY 4900113522MAY 4900113923MAY 4900114324MAY 4900113126NOT REQUIRED PART OR SEE NOTE FUSE (NOT REQUIRED)26MAY 4900114927MAY 4900115327MAY 4900132528MAY 4900115428MAY 4900118729MAY 4900109432MAY 49001095