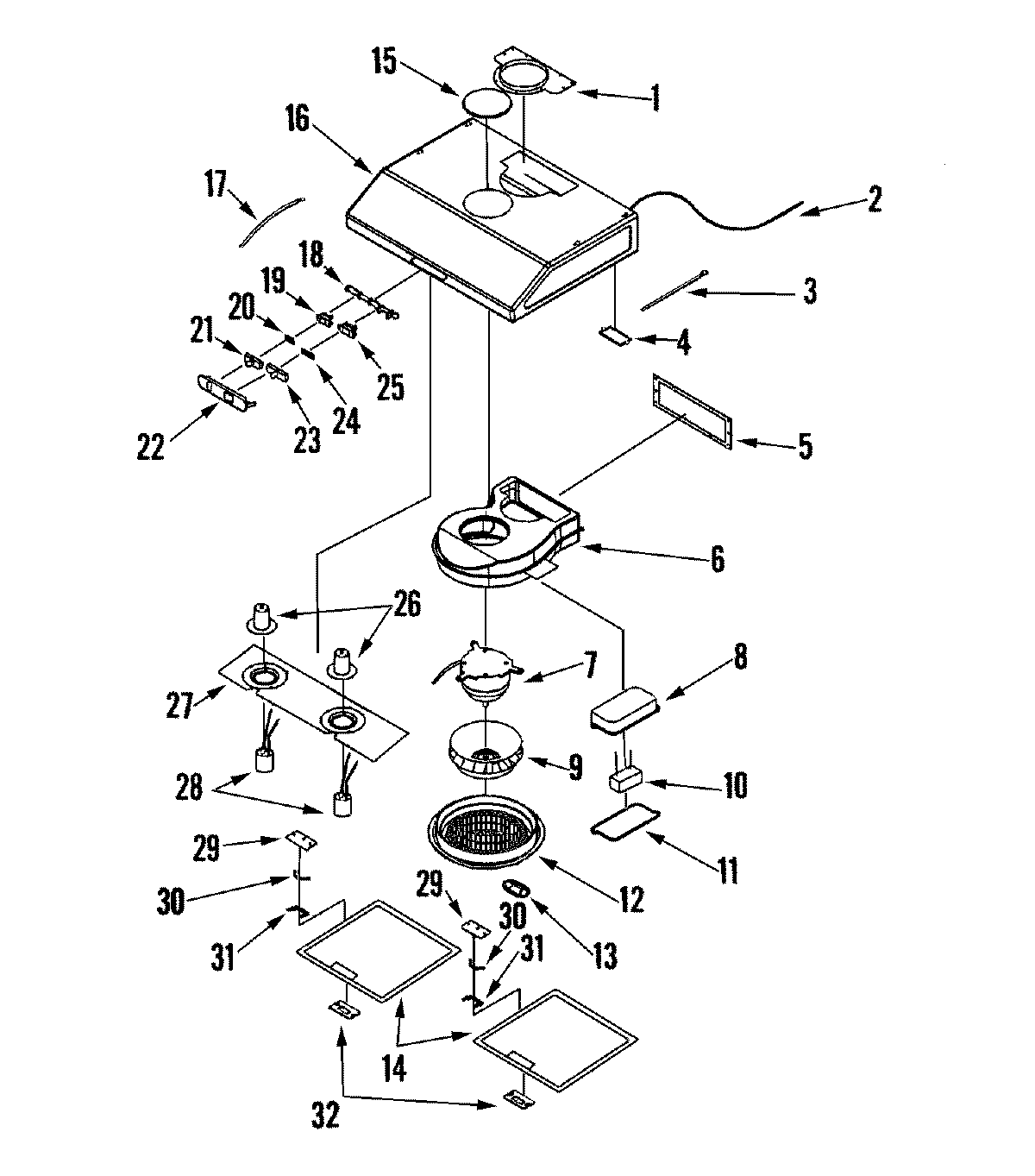
UXT5236ADW 01 – HOOD COMPONENTS (COMPLETE)admin2025-04-26T08:52:33+00:00UXT5236ADW 01 – HOOD COMPONENTS (COMPLETE) ProductsPositionProductNIMAY 49001191NIMAY 49001163NIMAY 49001181NIMAY 490010081MAY 490010872MAY 490010583MAY 490010594MAY 490010135MAY 490010606MAY 490010617MAY 490011288MAY 490010639MAY 4900106410MAY 4900106511MAY 4900106612MAY 4900106713MAY 4900106814MAY 4900108815MAY 4900108916MAY 4900114217MAY 4900107218MAY 4900112519MAY 4900112920MAY 4900119021MAY 4900113522MAY 4900113923MAY 4900114324MAY 4900113125MAY 4900114826NOT REQUIRED PART OR SEE NOTE FUSE (NOT REQUIRED)26MAY 4900114927MAY 4900132927MAY 4900114428MAY 4900115428MAY 4900118729MAY 4900109432MAY 49001095