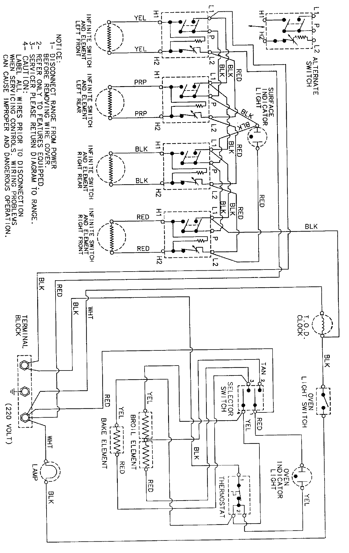
VER1360AGH 06 – WIRING INFORMATIONadmin2025-04-26T08:52:51+00:00VER1360AGH 06 – WIRING INFORMATION ProductsPositionProductNIMAY 15002340