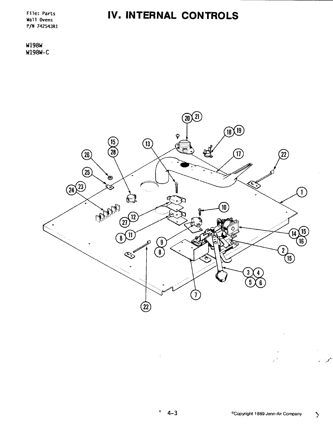
W198W-C 06 – INTERNAL CONTROLS (W198W-C)admin2025-04-26T08:53:11+00:00W198W-C 06 – INTERNAL CONTROLS (W198W-C) ProductsPositionProduct1MAY 7046842MAY Y7033573MAY Y7125475MAY 7016716MAY 7044607MAY 7017068MAY Y7023509MAY Y70236010MAY 70238011MAY 70280512MAY 70280613MAY 70280714MAY Y70252615WP12990527 Whirlpool Microwave Screw16MAY Y70168617MAY 70279517MAY 70490518MAY Y70275019MAY Y70717220MAY 70280321MAY Y70212422MAY Y70210523MAY Y70300224MAY Y70228425MAY Y70271126MAY 70716127MAY 70326428MAY 70168728MAY 704190