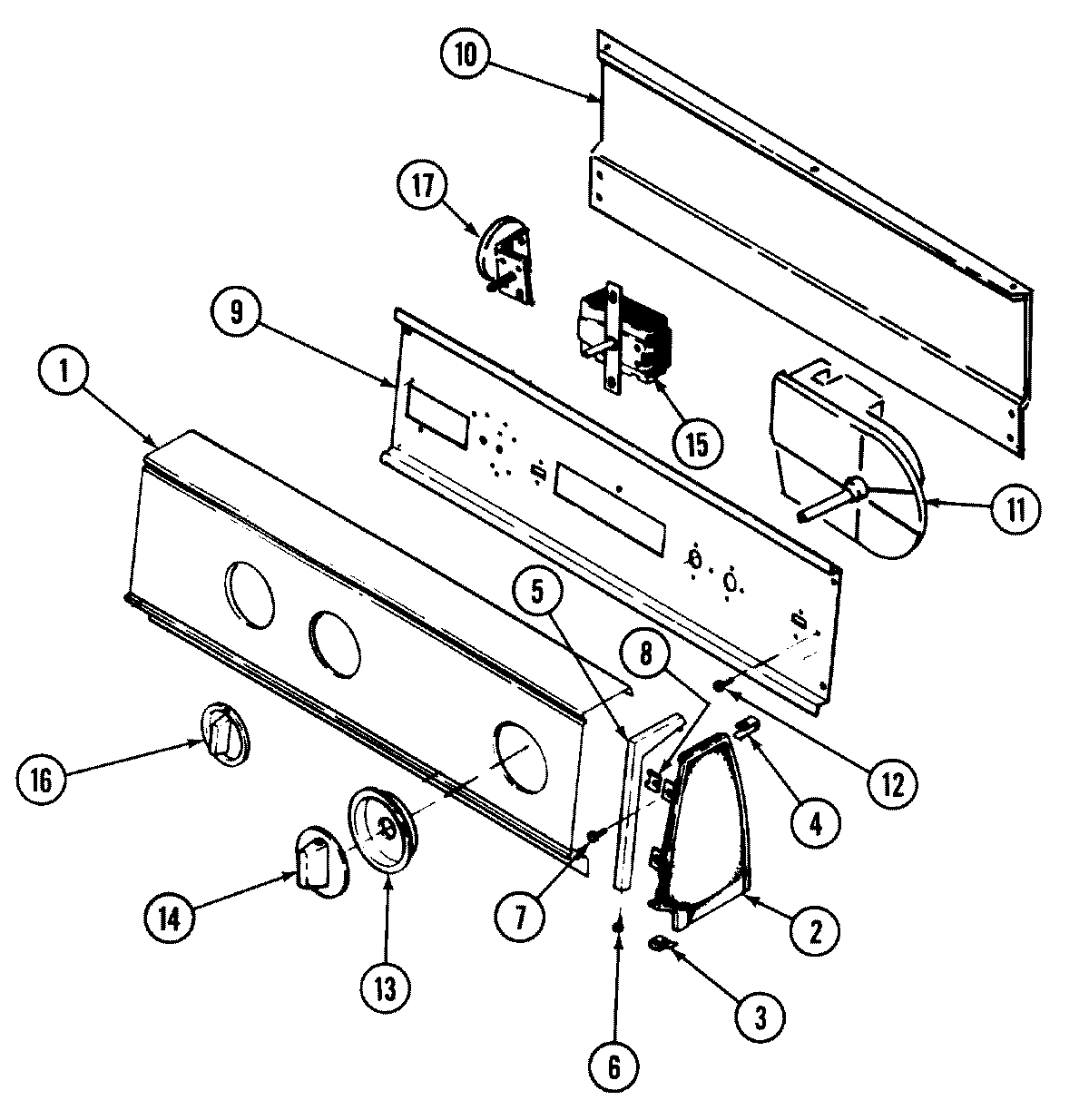
W205KGA 02 – CONTROL PANELadmin2025-04-26T08:53:10+00:00W205KGA 02 – CONTROL PANEL ProductsPositionProduct1MAY 25-77931MAY 210010182MAY 35-24872MAY 35-24883MAY 25-76973MAY 25-78514MAY 25-74354MAY 25-78525MAY 53-24125MAY 53-02795MAY 53-24135MAY 53-02806MAY 25-77608MAY 25-77029MAY 53-16769MAY 53-250410MAY 35-268810MAY 25-785310MAY 25-345711MAY 35-413712MAY 3100102913MAY 35-396514MAY 35-396215MAY 2100113915MAY 35-012416MAY 35-396017WP90767 Whirlpool Screw17WP21001554 Whirlpool Washer Switch18MAY 2100105319MAY 2100105120MAY 16000329