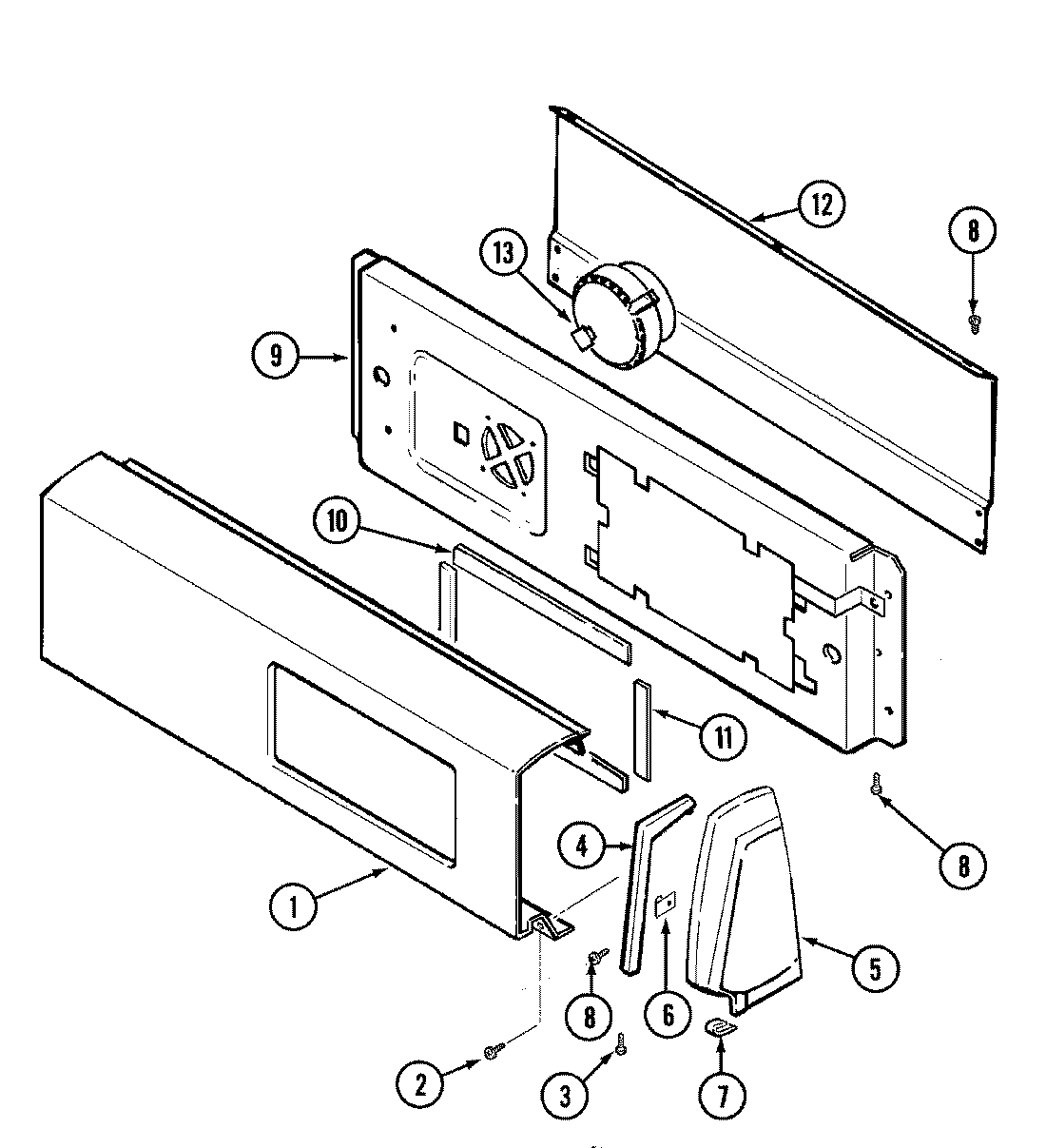
W209KVC 02 – CONTROL PANELadmin2025-04-26T08:53:50+00:00W209KVC 02 – CONTROL PANEL ProductsPositionProduct1MAY 35-38462MAY 25-76493MAY 25-77604MAY 53-02774MAY 53-02785MAY 35-26695MAY 35-26686MAY 25-77027MAY 25-78518WP90767 Whirlpool Screw9MAY 35-34739MAY 35-354010MAY 35-345011MAY 35-345312MAY 35-268812MAY 25-345713MAY 35-345413MAY 2100105313MAY 25-794713MAY 1600032913MAY 21001055