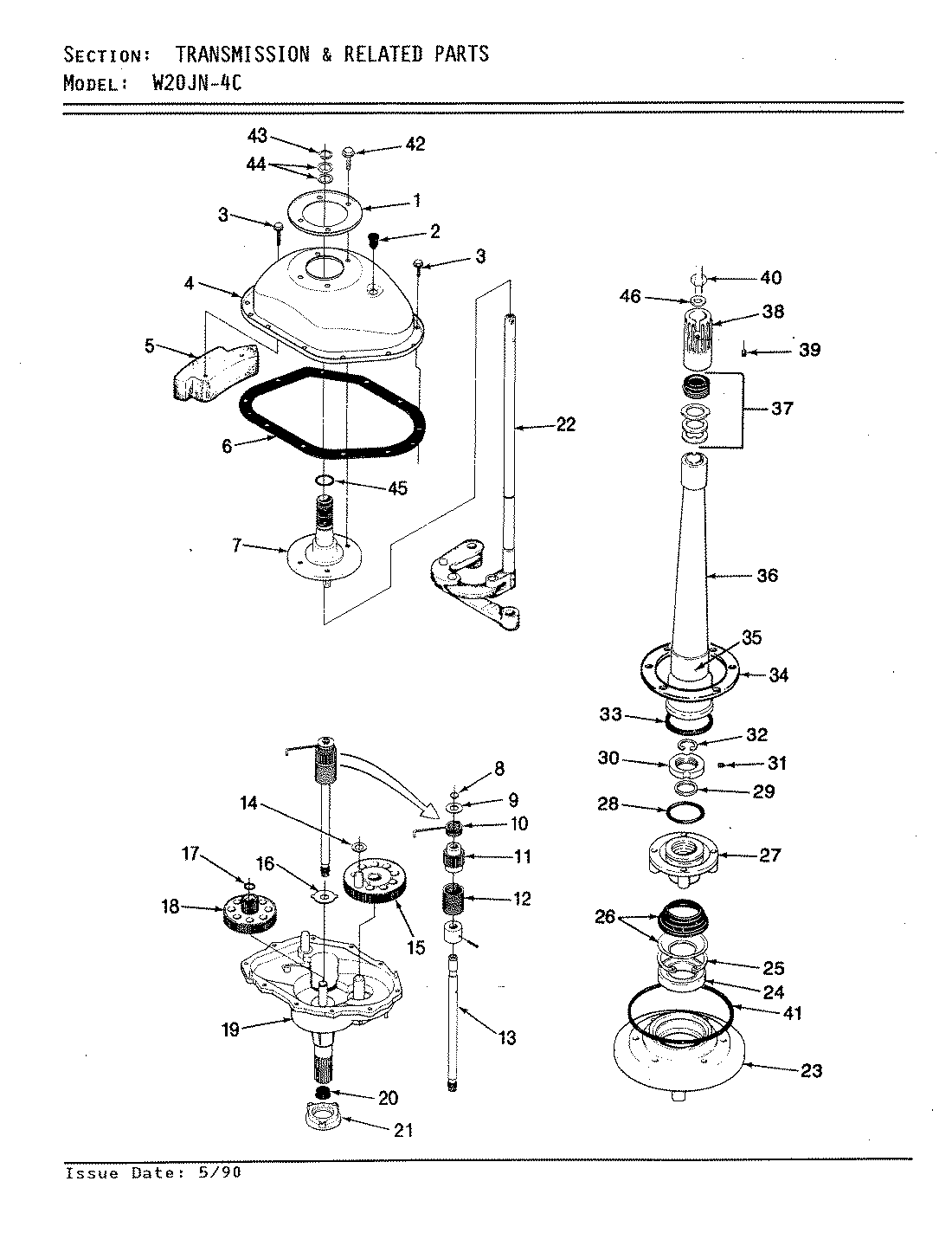
W20JA4C 05 – TRANSMISSION (REV. A-D)admin2025-04-26T08:48:42+00:00W20JA4C 05 – TRANSMISSION (REV. A-D) ProductsPositionProduct1MAY LA-20011MAY 33-98932MAY 33-93733MAY 25-79164MAY 33-4286N5MAY 35-21306MAY 35-10307MAY 33-87638MAY 25-78479MAY 25-741610MAY 33-611411MAY 35-200112MAY 33-319513MAY 35-211613MAY LA-200514MAY 25-709115MAY 35-204316MAY 25-727416MAY 35-246216MAY 35-207017MAY 25-785318MAY 35-201319MAY 35-201220MAY 35-201021MAY 35-211122MAY 35-062823MAY 35-205924MAY 35-220525MAY 25-784926MAY 33-7224N27MAY 33-998728MAY 35-206130MAY 33-950731MAY 25-712033MAY 33-871834MAY 35-093035MAY 33-679036MAY 33-4283N37MAY 33-7806N38MAY 33-972939MAY 25-737840MAY 33-681741MAY 35-206042MAY 25-735943MAY 25-784844MAY 25-705745MAY 25-772246MAY 25-7316