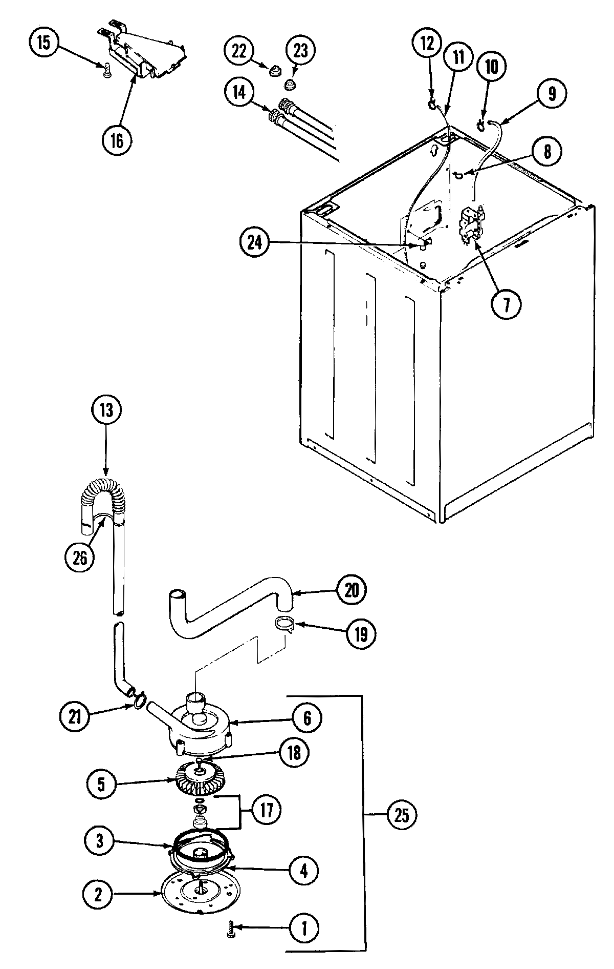
| 1 | MAY 25-7419 |
| 2 | MAY 33-6035 |
| 3 | MAY 33-6032 |
| 4 | MAY 35-2058 |
| 5 | WP35-6465 Whirlpool Drain Pump |
| 6 | MAY 35-2056 |
| 7 | MAY 35-2375 |
| 7 | MAY 25-7430 |
| 9 | 12002749 Whirlpool Flume Hose Kit |
| 11 | WP21001748 Whirlpool Hose |
| 11 | MAY 35-0706 |
| 12 | MAY 33-6099 |
| 13 | MAY 35-3538 |
| 14 | MAY 35-0873 |
| 14 | FILL HOSE 5' W/WASHER |
| 15 | WP90767 Whirlpool Screw |
| 16 | MAY 35-2051 |
| 17 | MAY 35-0707 |
| 18 | WP489483 Whirlpool Screw |
| 19 | WP285655 Whirlpool Hose Clamp |
| 20 | WP21001915 Whirlpool Hose Tub |
| 22 | MAY 25-7048 |
| 23 | MAY 33-4264N |
| 24 | WP596669 Whirlpool Hose Clamp |
| 25 | MAY 35-2344 |
| 25 | MAY 35-3834 |
| 26 | MAY 33-9537 |