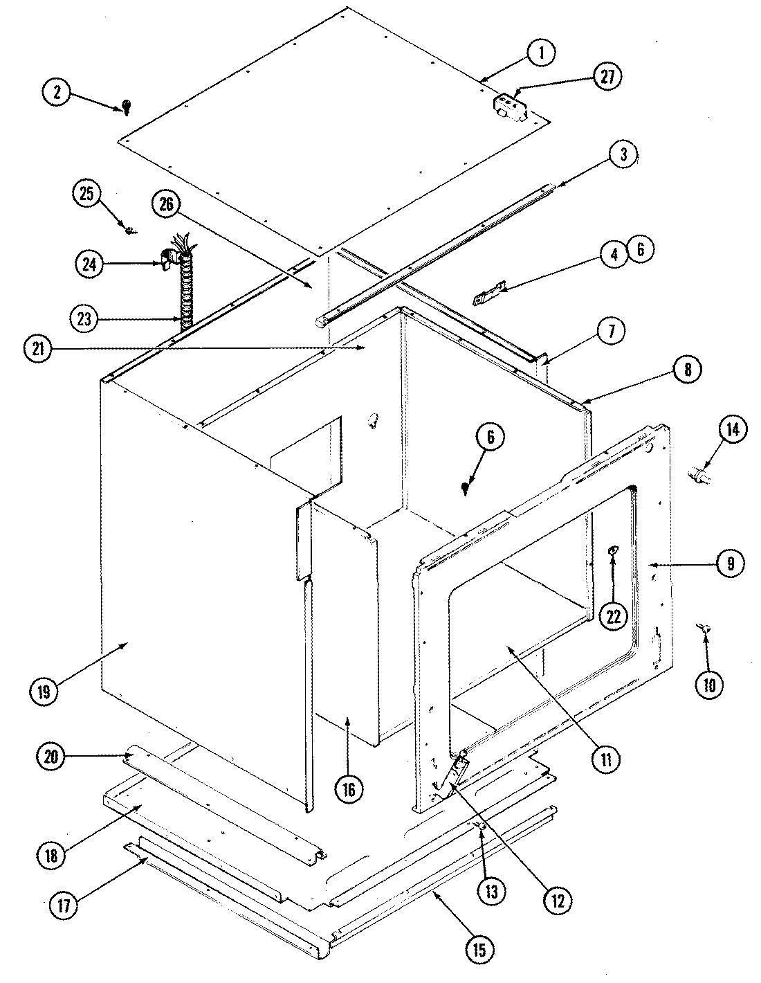
W236B 03 – BODY (LOWER)