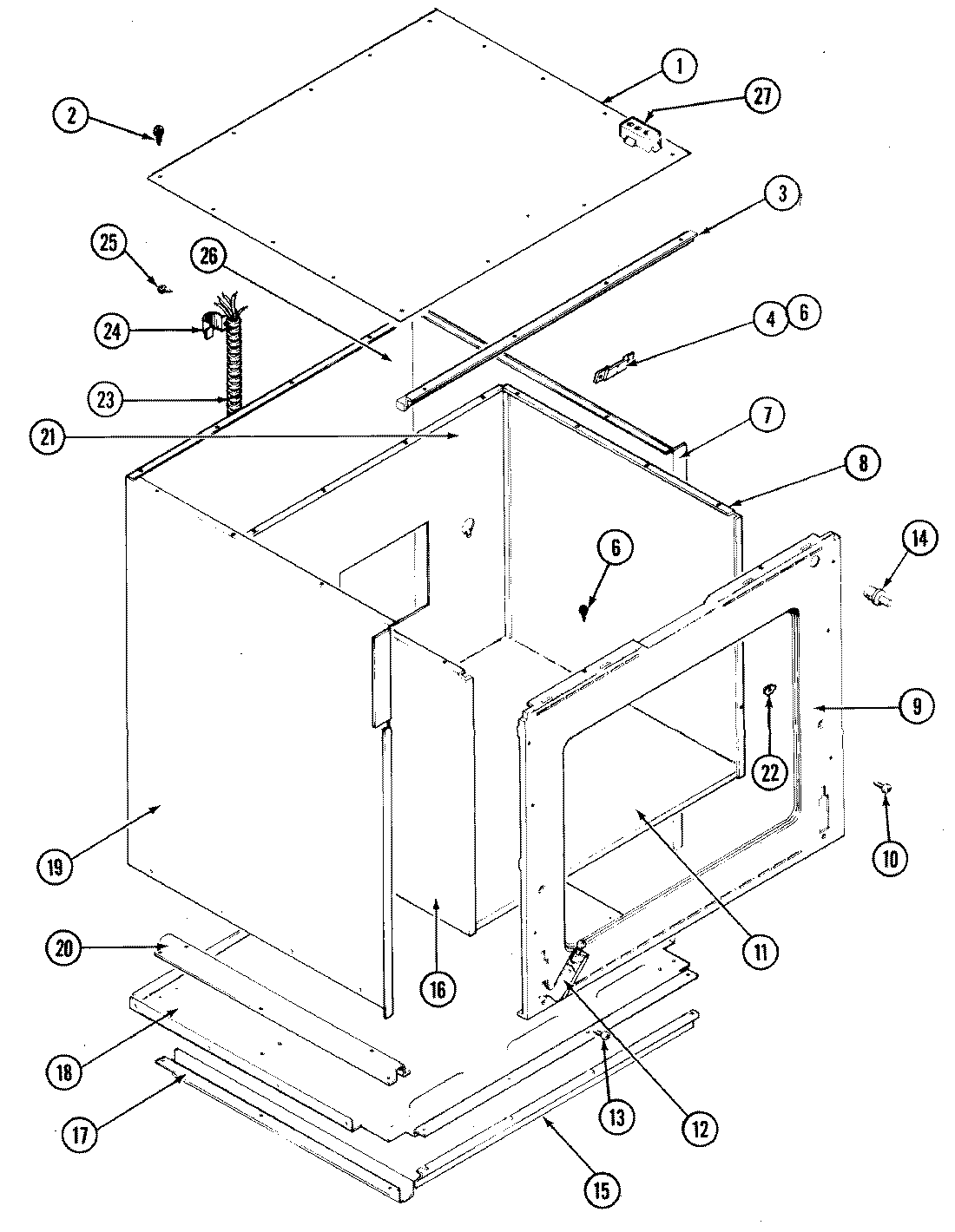
W236W 03 – BODY (LOWER)