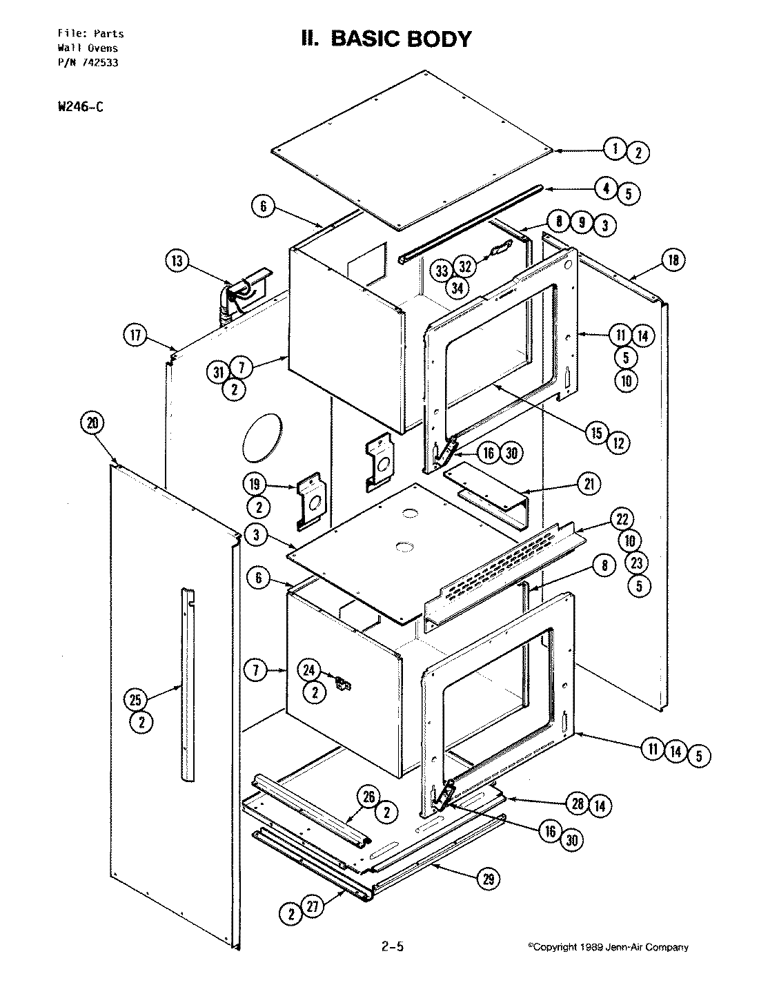
W246-C 03 – BODY