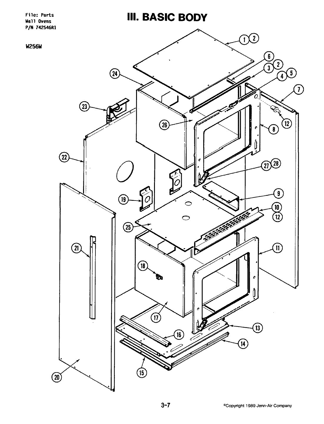
W256W 01 – BASIC BODY (W256W)