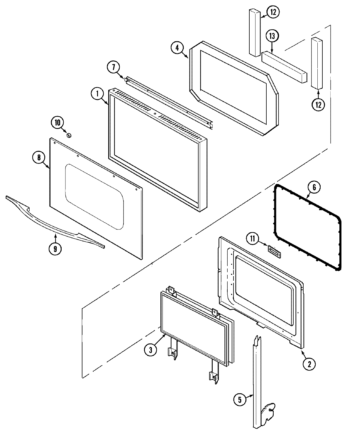
W27100B 03 – DOOR