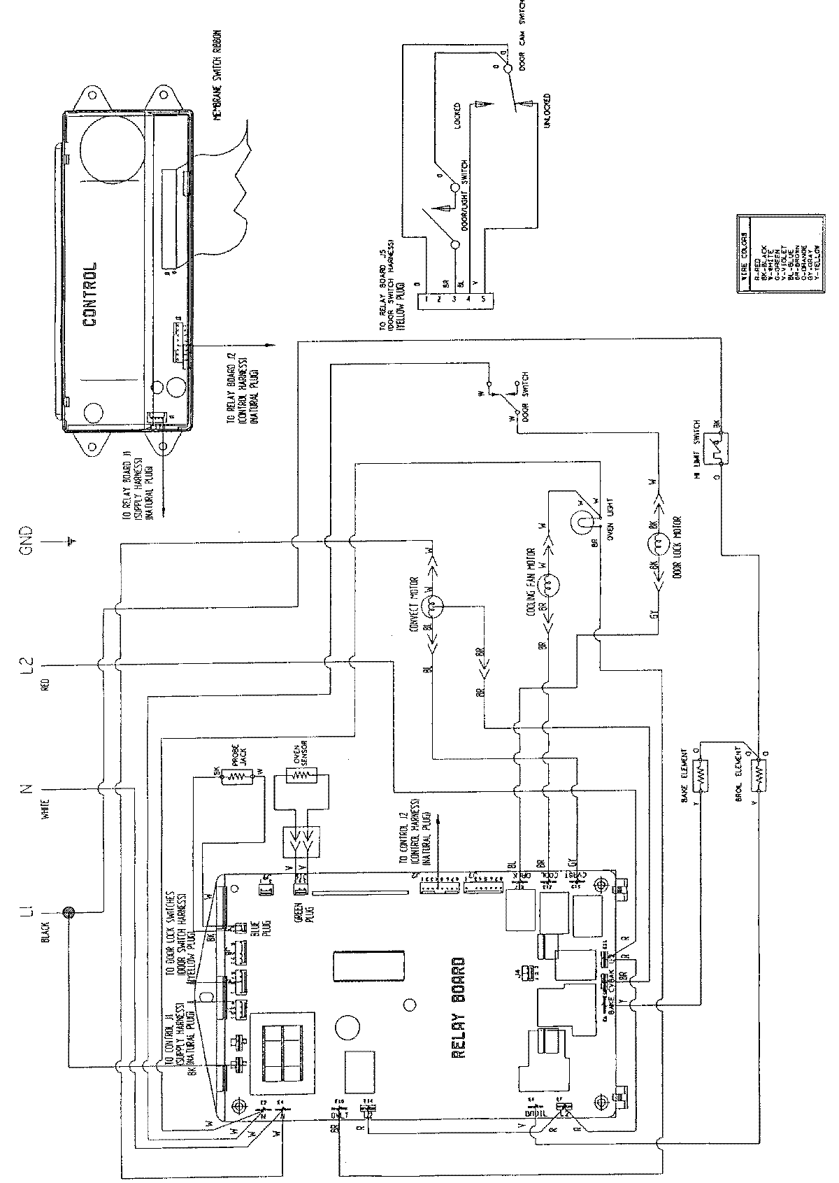
W27400W 06 – WIRING INFORMATIONadmin2025-04-26T08:48:41+00:00W27400W 06 – WIRING INFORMATION ProductsPositionProductNIMAY 15001534