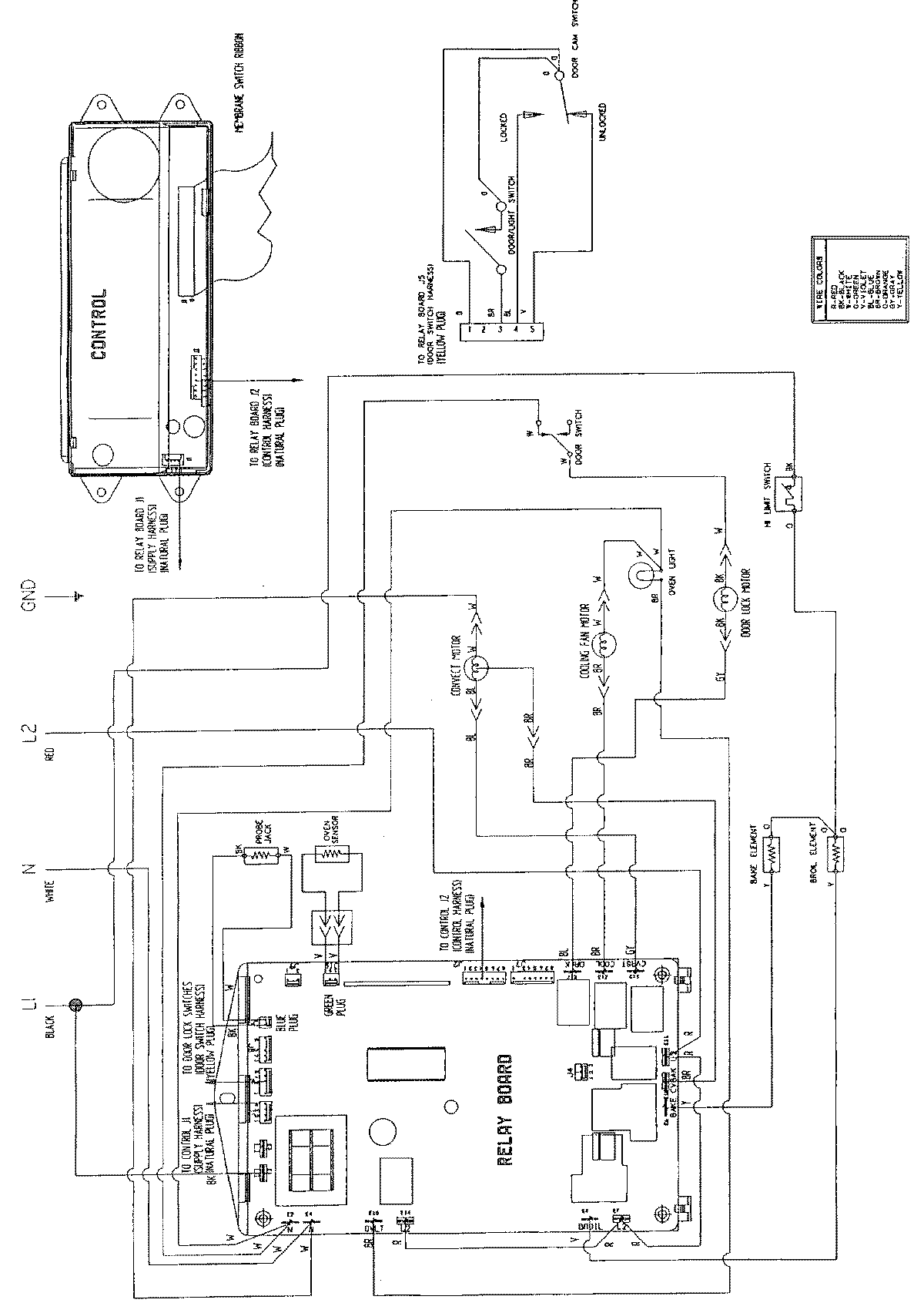
W30400BC 06 – WIRING INFORMATIONadmin2025-04-26T08:49:22+00:00W30400BC 06 – WIRING INFORMATION ProductsPositionProductNIMAY 15002048