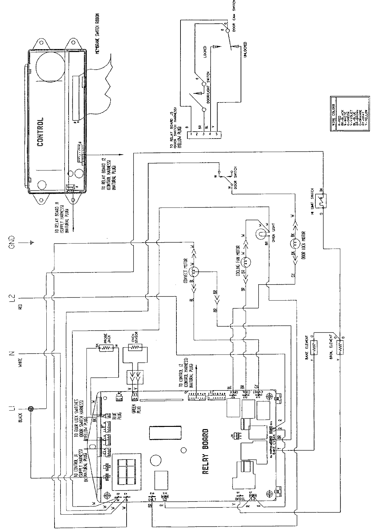
W30400W 06 – WIRING INFORMATIONadmin2025-04-26T08:49:04+00:00W30400W 06 – WIRING INFORMATION ProductsPositionProductNIMAY 15001534