| NI | WCI 309112501 |
| NI | WCI 5303293809 |
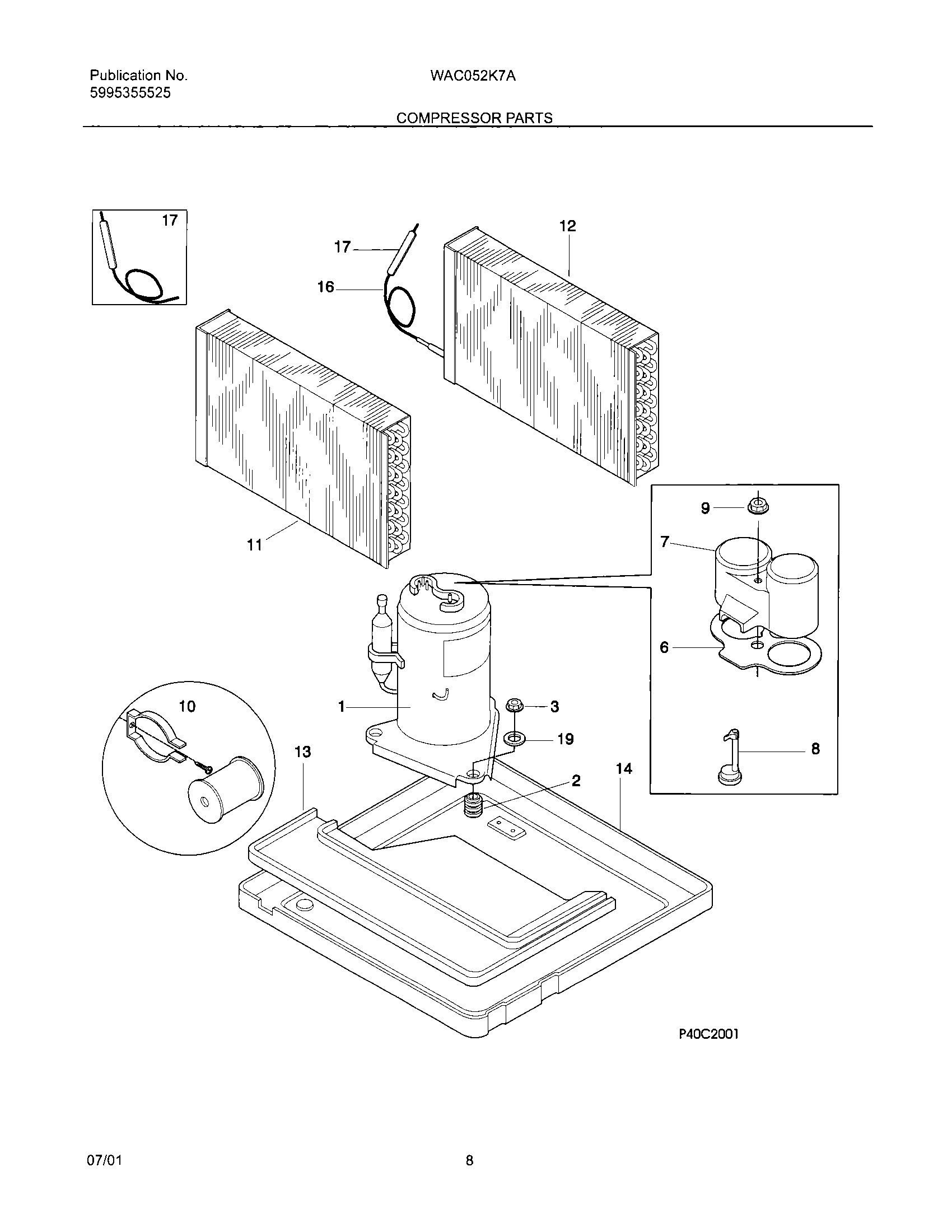
| 1 | WCI 5304417319 |
| 2 | GROMMET,COMPRESSOR MTG ,(3) |
| 3 | NUT,COMPRESSOR MTG ,(3) |
| 6 | WCI 5303291330 |
| 7 | WCI 5304416126 |
| 8 | WCI 5304417320 |
| 9 | WCI 5303294292 |
| 10 | WCI 5303317601 |
| 11 | WCI 309637401 |
| 12 | WCI 5303307226 |
| 13 | WCI 5303302849 |
| 14 | WCI 5304413780 |
| 16 | Capillary Tube,45 inch long ,cut to length |
| 17 | WCI 5304413857 |
| 19 | WASHER,COMPRESSOR MTG |