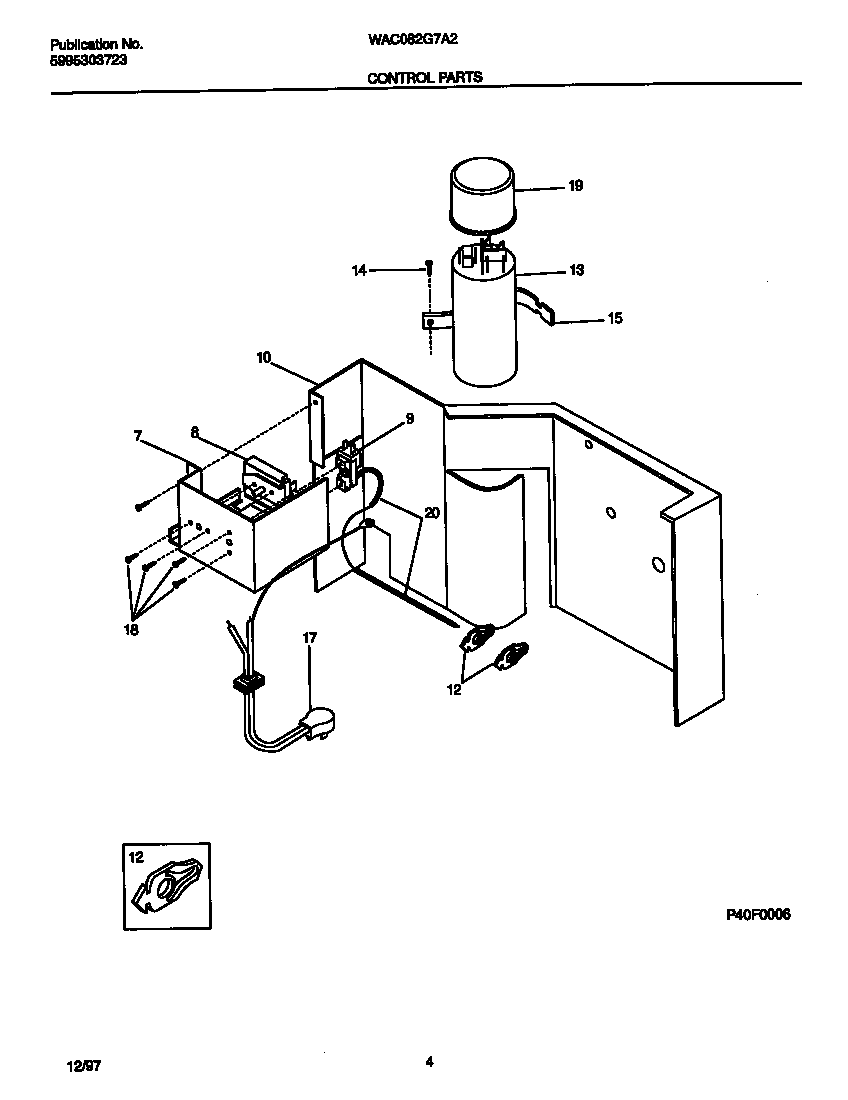
WAC082G7A2 03 – CONTROL PARTSadmin2025-04-26T10:19:59+00:00WAC082G7A2 03 – CONTROL PARTS ProductsPositionProduct7WCI 3096025028SWITCH-SELECTOR9WCI 530440283810WCI 30960240112WCI 30910120213WCI 530330357614134178901 Frigidaire Screw15WCI 530330308617WCI 530331723618SCREW19WCI 530330285520SLEEVE-CAP TUBE (NON-ILLUSTRATED)