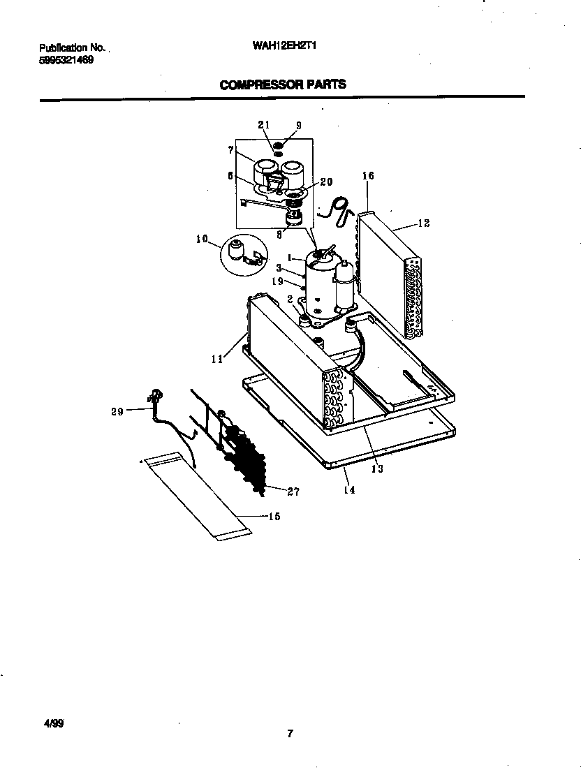
WAH12EH2T1 05 – COMPRESSORadmin2025-04-26T10:20:43+00:00WAH12EH2T1 05 – COMPRESSOR ProductsPositionProduct1WCI 53044081982GROMMET,COMPRESSOR MTG ,(3)3NUT,COMPRESSOR MTG ,(3)6WCI 53030020357COVER-TERMINAL8WCI 53044081999WCI 530330173411WCI 30963240112WCI 30963250513WCI 30962870214WCI 30963200115WCI 30962950116CAPILLARY TUBE19WASHER,COMPRESSOR MTG20SPRING-OVERLOAD21WCI 530329551627+HEATER ASSY-18.5 230V/3450W30VALVE-DRAIN (NON-ILLUSTRATED)32NUT-HEATER36+HARNESS-WIR HTR 18.5 12AWG