| NI | WCI 5304415693 |
| NI | WCI 309330201 |
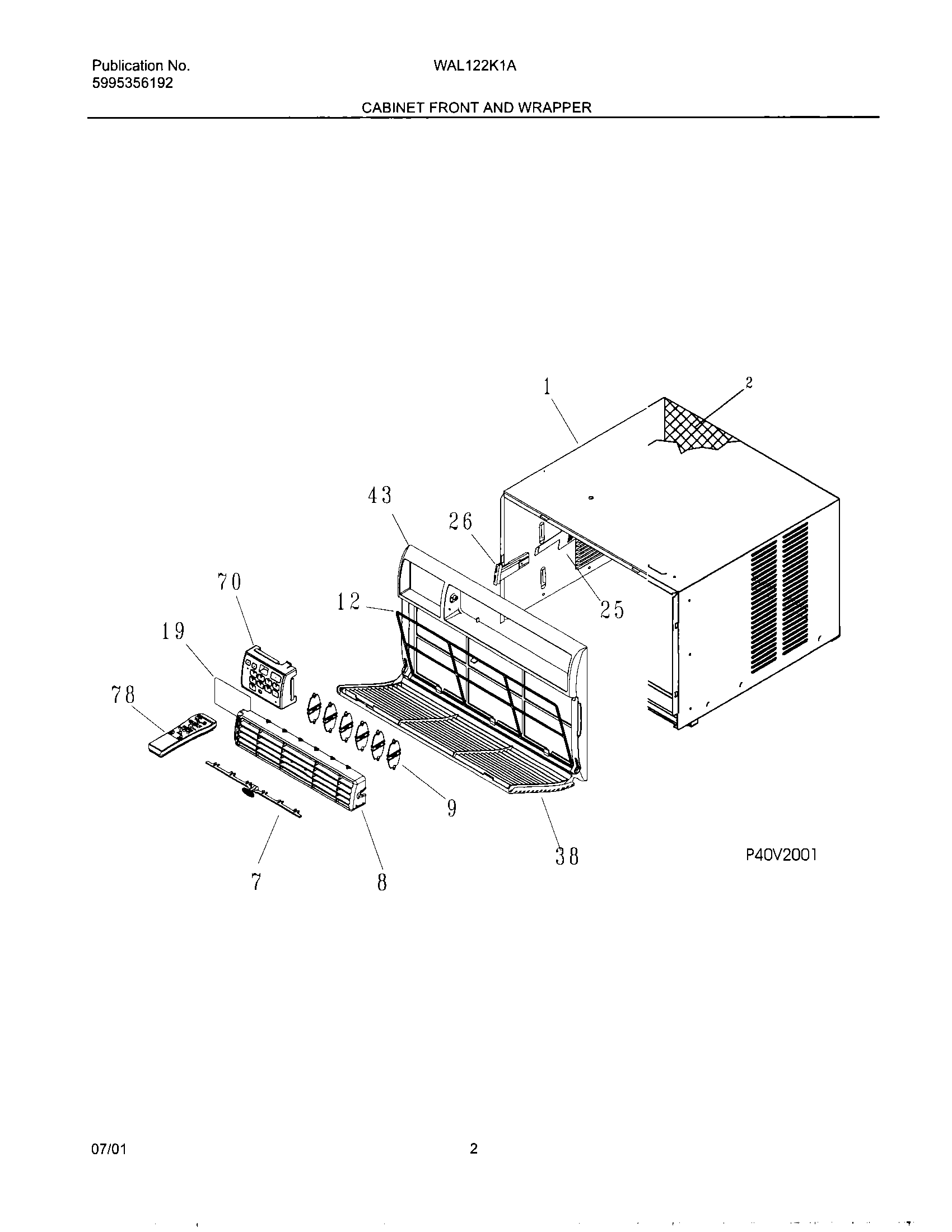
| NI | FRAME-FRNT |
| NI | HORIZ LOUVER ASSY. |
| NI | WCI 309639601 |
| 1 | WCI 309609210 |
| 2 | WCI 309632805 |
| 7 | WCI 309638601 |
| 8 | +HORIZ.LOUVER |
| 9 | WCI 309342001 |
| 12 | FILTER-NO FRAME 22``T/C |
| 19 | WCI 309340906 |
| 25 | WCI 309328602 |
| 26 | Handle,vent door |
| 43 | FRNT/PNL ASSY COMPL.BRND.22TC |
| 70 | Enclosure,elec control mt |
| 78 | WCI 309342605 |