| NI | 134178901 Frigidaire Screw |
| NI | WCI 309111201 |
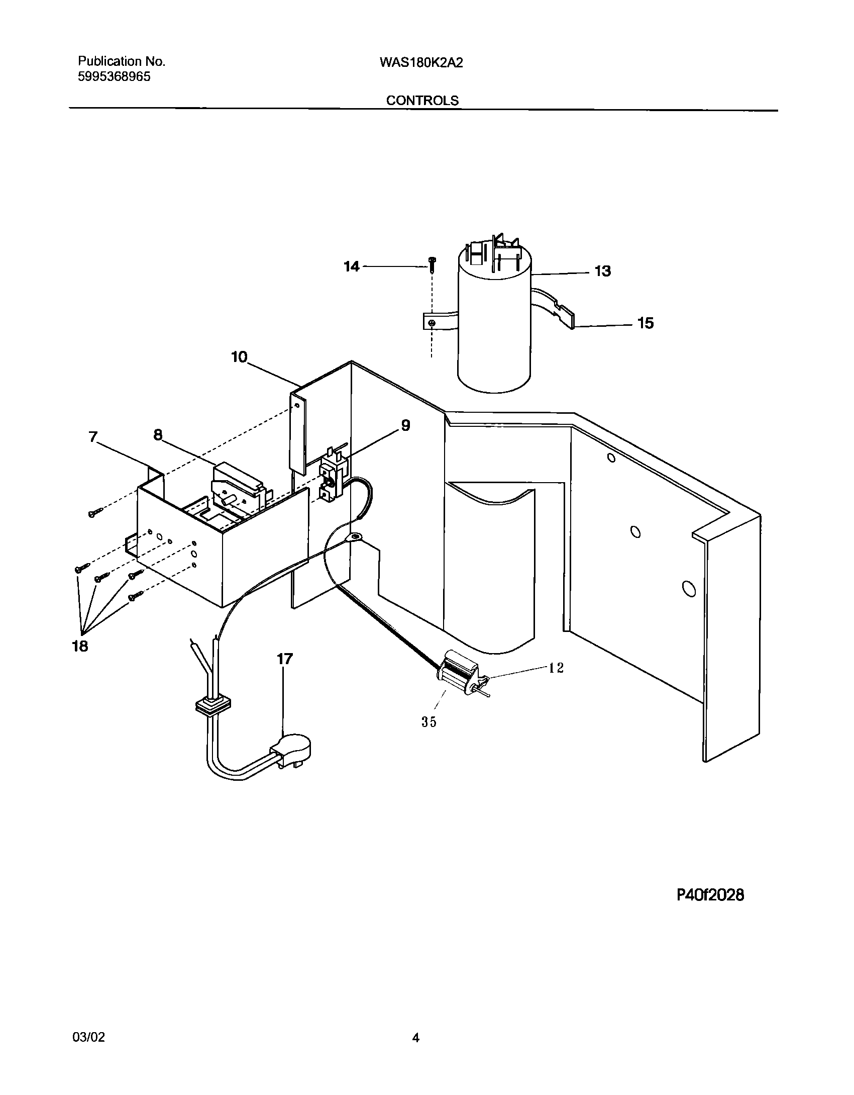
| 7 | WCI 309630401 |
| 8 | SWITCH-SELECTOR |
| 9 | WCI 5304408295 |
| 10 | WCI 309623602 |
| 12 | WCI 309331801 |
| 13 | WCI 5304426451 |
| 14 | Screw,Ph truss hd ,8-18 x 0.38 ,ground |
| 15 | STRAP - CAPACITOR |
| 17 | WCI 309343112 |
| 18 | SCREW |
| 35 | WCI 3200761 |