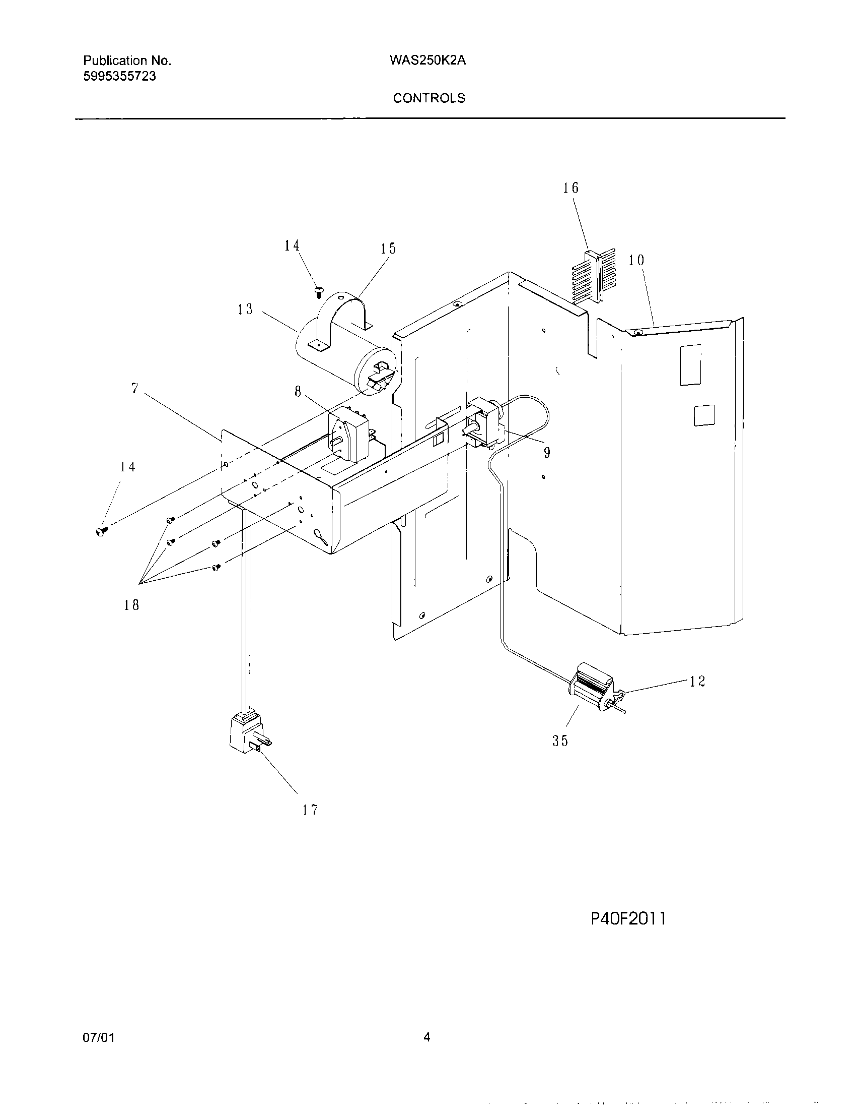
| 7 | WCI 309630401 |
| 8 | Switch-selector,7 position |
| 9 | Control-temperature |
| 10 | WCI 309623601 |
| 12 | WCI 309331801 |
| 13 | WCI 5303316594 |
| 14 | 134178901 Frigidaire Screw |
| 15 | STRAP - CAPACITOR |
| 16 | Harness-wiring |
| 17 | Cord-electric power,Type-D ,12 AWG ,230 V |
| 18 | SCREW |
| 35 | WCI 3200761 |