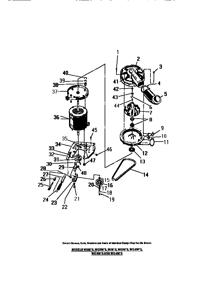
WC3ML3 15 – PUMP, MOTORadmin2025-04-26T13:15:41+00:00WC3ML3 15 – PUMP, MOTOR ProductsPositionProduct1SCREWS (4)2WCI 80019573SCREWS (4)4WCI 80018875WCI 80018336WCI 80017377WCI 80018318WCI 89500669WCI 800188512WCI 800195813WCI 800173614WCI 800183216WCI 800177917WASHER (2)18WCI 800176719WCI 800283920WCI 800184221WCI 800176822WCI 800187023ARM, IDLER WITH BEARING24WCI 800174125WCI 800192626WCI 800183027WCI 800172028WCI 800188329WCI 800192730WCI 800189831WCI 800178332WCI 800192533WCI 800189234WCI 800178535WCI 800172836WCI 800193236BEMERSON, 2 SPEED37WCI 800181438WCI 800191039WASHERS40WASHERS (4)41WCI 800182942WCI 800191743WCI 800187144WCI 800191545WCI 800186046NUTS (2)47NUTS (4)48WCI 8001884