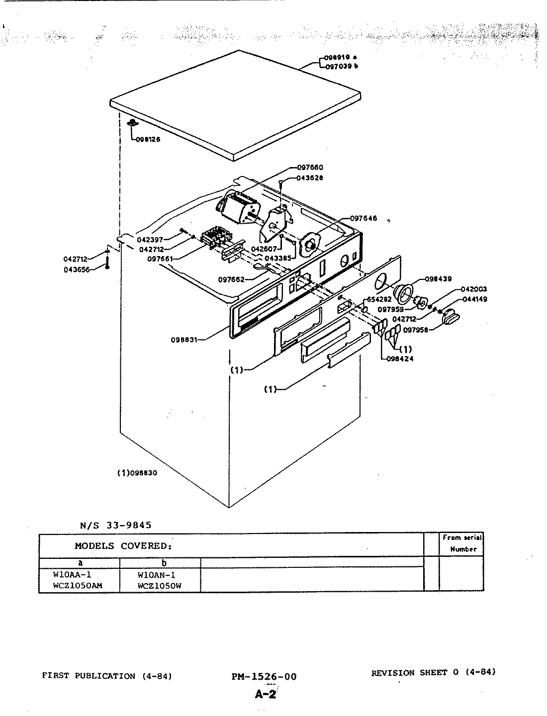
WCZ1050AM 02 – CONTROL PANELadmin2025-04-26T08:49:03+00:00WCZ1050AM 02 – CONTROL PANEL ProductsPositionProduct1MAY 0420032MAY 0423973MAY 0426074MAY 0427125MAY 0433856MAY 0436287MAY 0436568MAY 04414910MAY 09764611MAY 09766012MAY 09766113MAY 09766214MAY 09795815MAY Y09795916MAY 09812617MAY 09842418MAY 09843919MAY 09883020MAY 09883121MAY 09891922MAY 33-984522MAY 654282