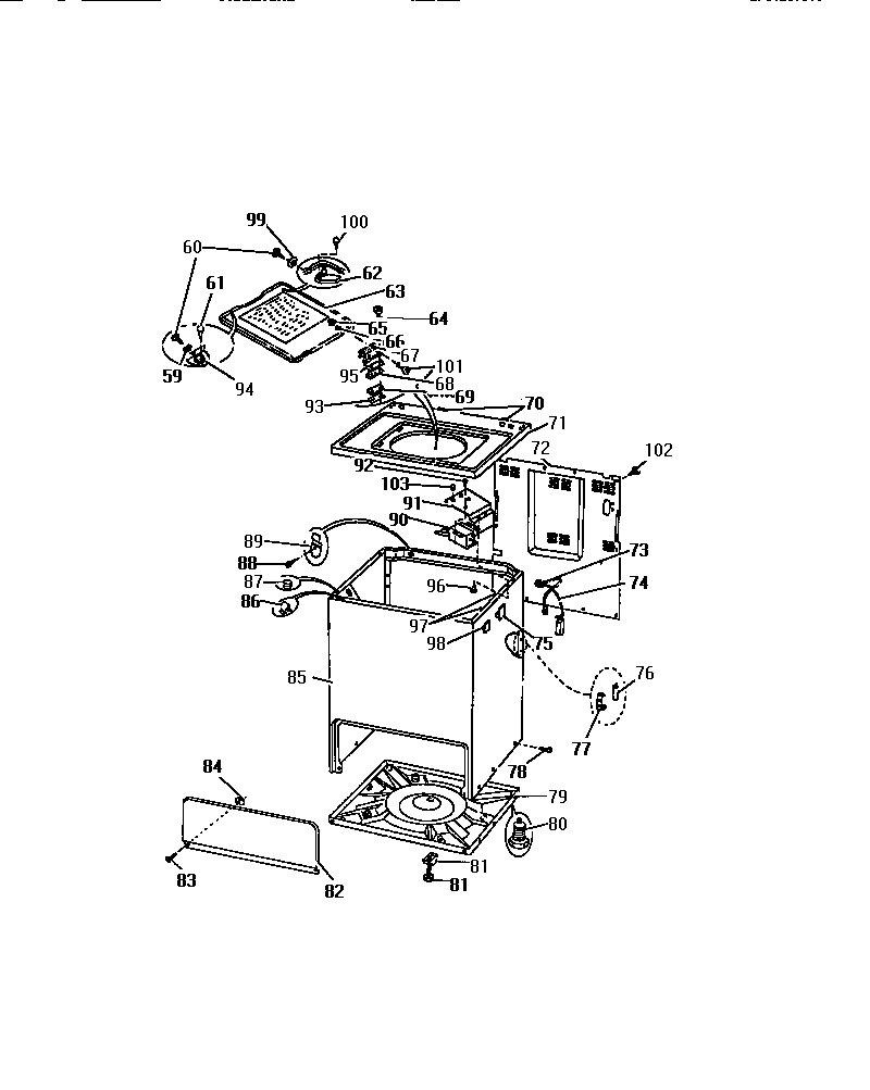
WDDL2 05 – BODYadmin2025-04-26T13:15:02+00:00WDDL2 05 – BODY ProductsPositionProduct60WCI 800240762WCI 800240965WCI 800241566WCI 800241467WCI 800241168WCI 800241369WCI 801552770WCI 800655772WCI 801128673WCI 800464774WCI 801551575WCI 801130576WCI 801490377WCI 801490278WCI 800161379WCI 801129080WCI 895008881WCI 800406683WCI 800157884WCI 800238886WCI 800159788WCI 801127689WCI 800238490WCI 801551891WCI 801552892WCI 800654793WCI 800240094WCI 801551995WCI 800241296WCI 800242097WCI 800409998WCI 801130499WASHERS (4)100WCI 8015520101WCI 8002416102SCREWS (4)103WCI 8001596