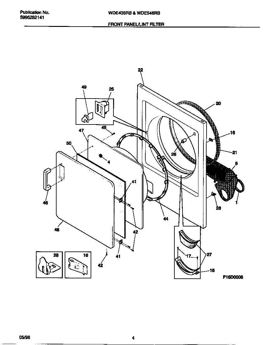
WDE546RBD2 03 – FRONT PANEL/LINT FILTER