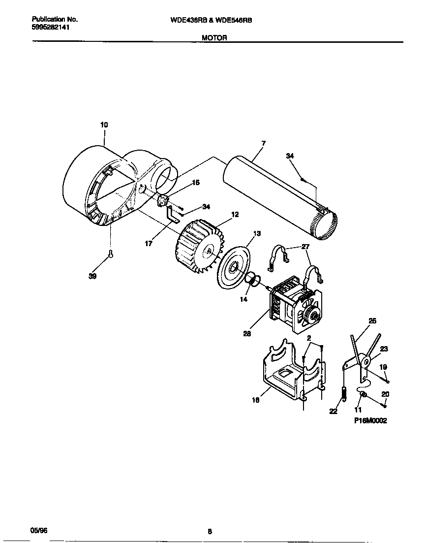
WDE546RBD2 05 – MOTOR