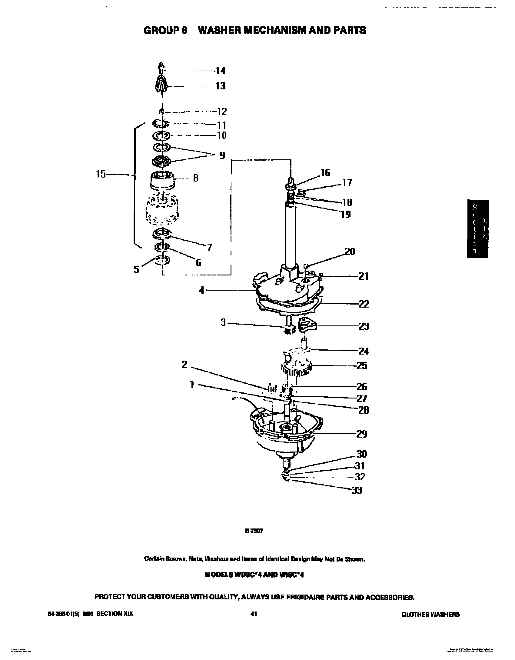
WDSCW4 09 – WASHER MECHANISMadmin2025-04-26T08:44:10+00:00WDSCW4 09 – WASHER MECHANISM ProductsPositionProduct1WCI 80028172WCI 80028163WCI 80155074WCI 80155355WCI 80024016WCI 80024787WCI 80024798WCI 80040679WCI 800407210WCI 800248011WCI 800248312WCI 800248813WCI 801490414WCI 800249115WCI 895005616WCI 801127018WCI 800248519WCI 800248120WCI 800280321WCI 801126722WCI 800280523WCI 801126824WCI 800280925WCI 801549626WCI 801490528WCI 800281329WCI 800281530WCI 800247731WCI 800247632WCI 800247533WCI 8002474