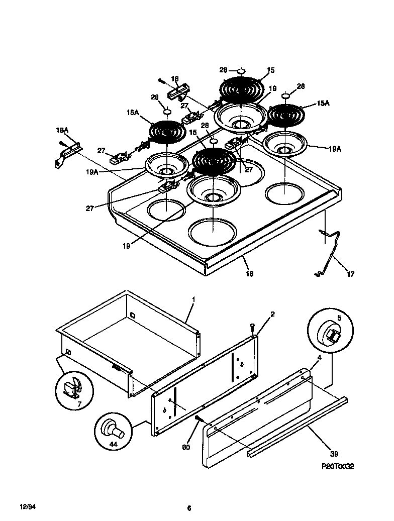
WEF322BAWA 04 – TOP/DRAWERadmin2025-04-26T08:44:22+00:00WEF322BAWA 04 – TOP/DRAWER ProductsPositionProduct*78080WCI 53032815841DRAWER-UTILITY2SHIELD-PNL4PANEL-BROILER, WHITE4SCREW, HEX WASHER HEAD, 8-18(AB) X 1/2 (NOT ILLUSTRATED)5FSTNR, SPACER (2)73051163 Frigidaire Oven Range Rear Broiler Drawer Glide15A318372210 Frigidaire Oven Range 6" 1250W Surface Element15316442300 Frigidaire Oven 2100W Coil Element 816316202388 Frigidaire Oven Maintop17316057601 Frigidaire Oven Rod18HINGE-MAIN TOP (RH)18AHINGE-MAIN TOP (LH)18131243700 Frigidaire Screw19316048413 Frigidaire Oven Range Chrome 8" Drip Bow19AL304430992 Frigidaire 6" Drip Bowl Chrome FM275303935058 Frigidaire Oven Burner Receptacle Kit28MEDALLION, STAINLESS STEEL, SURF ELEM39HANDLE-DRAWER, WHITE443131903 Frigidaire Door/Drawer Bumper60WCI 5303288574