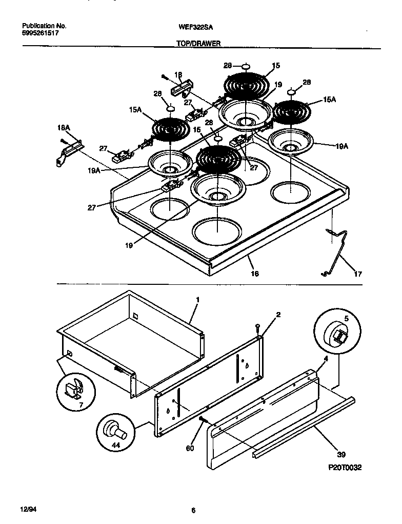
WEF322SADA 04 – TOP/DRAWER