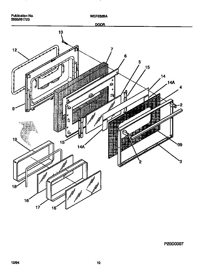
WEF352BADA 06 – DOOR