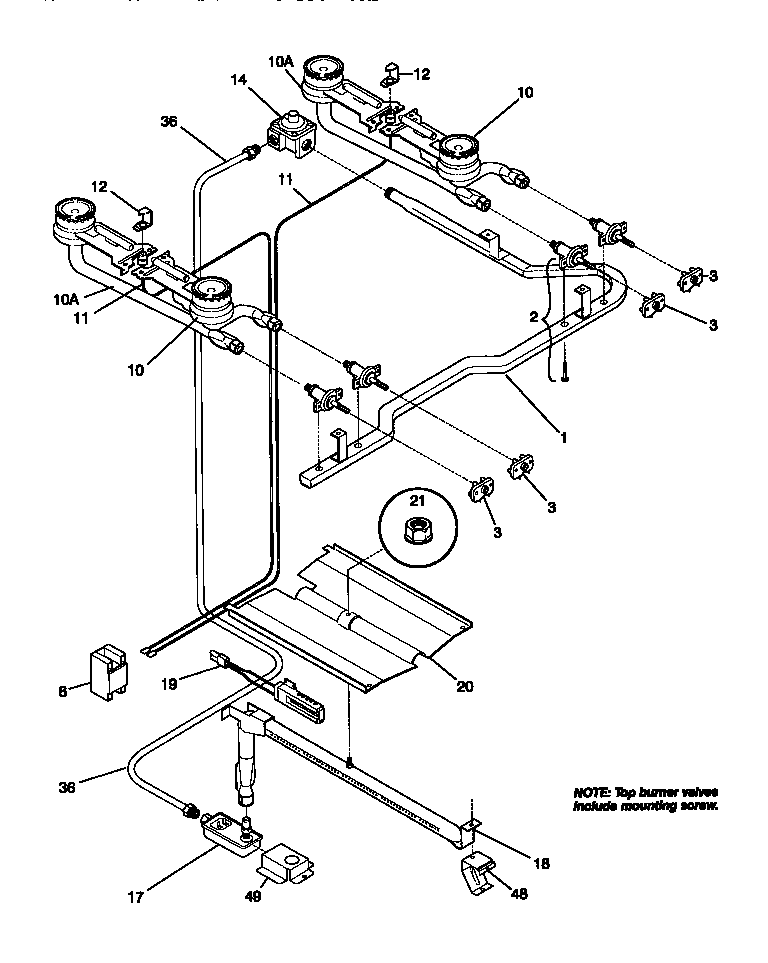
WGF323BADC 03 – BURNER