| *00890 | SCREW, CR PAN HD SEMS, 8-32BP X 1.00 |
| *00896 | 131243700 Frigidaire Screw |
| *00894 | WCI 5303280311 |
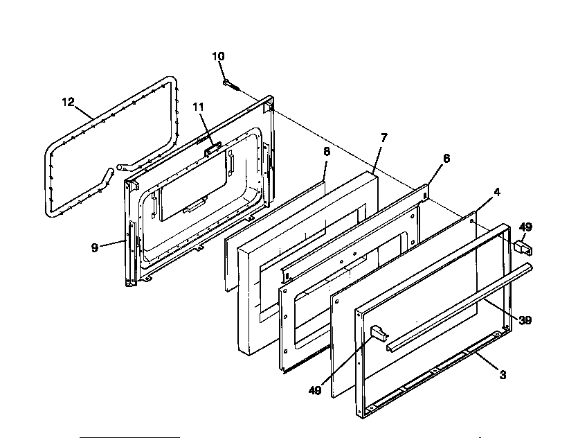
| *00889 | WCI 316071600 |
| *00893 | 5303271648 Frigidaire Oven Screw |
| *00895 | 5303285179 Frigidaire Oven Door Screw |
| *00892 | WCI 5303269859 |
| *00891 | 5303300265 Frigidaire Oven Screw |
| 3 | WCI 316067802 |
| 4 | GLASS-OVEN DOOR, BLACK, OUTER |
| 6 | SHIELD-INSULATION |
| 7 | WCI 316076401 |
| 8 | WCI 316050303 |
| 9 | WCI 316066603 |
| 10 | SCREW-HANDLE MTG, WAFER HEAD, 10-24(F) X 3 |
| 11 | WCI 5303015373 |
| 12 | 5303202011 Frigidaire Door Seal |
| 39 | HANDLE-DOOR, OVEN |
| 49 | 316137003 Frigidaire Range / Cooktop End Cap |
| 60 | COVER-OVEN FRONT |