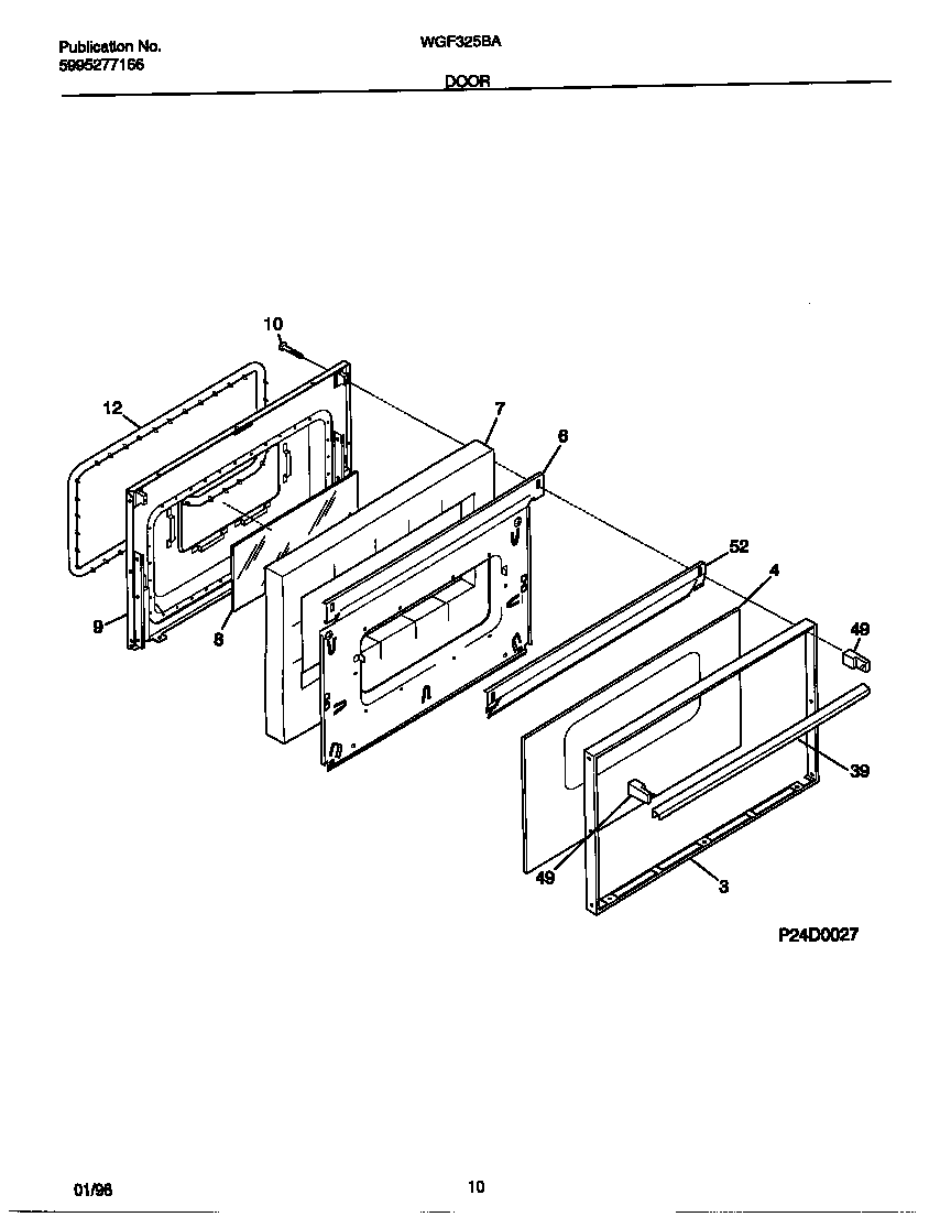
WGF325BAWD 06 – DOOR