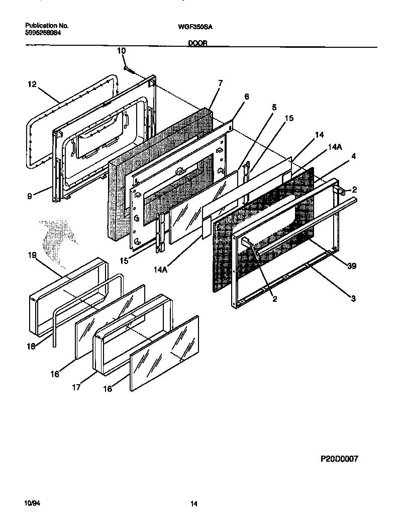
WGF353CASB 07 – DOOR