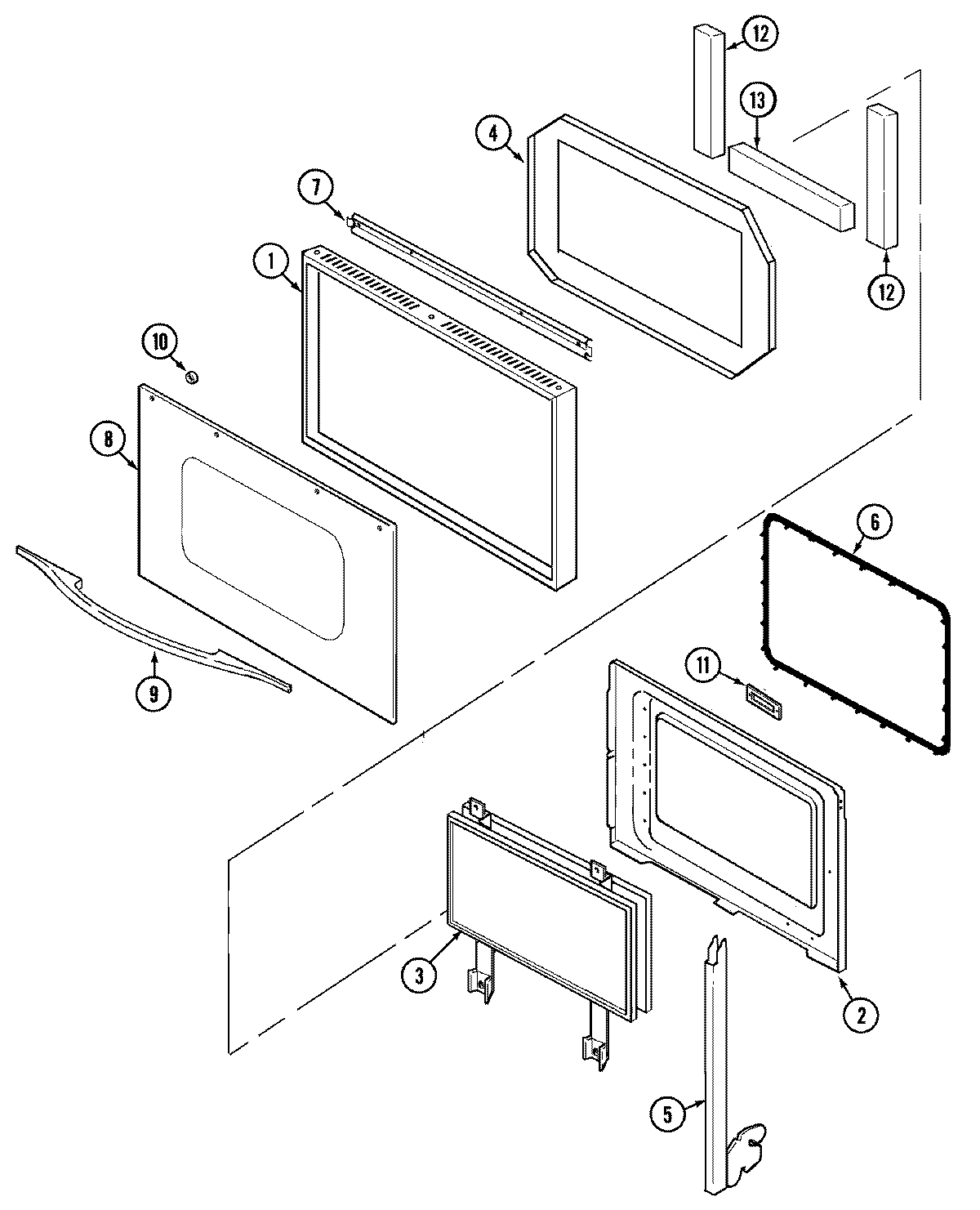
WM27160W 03 – DOOR