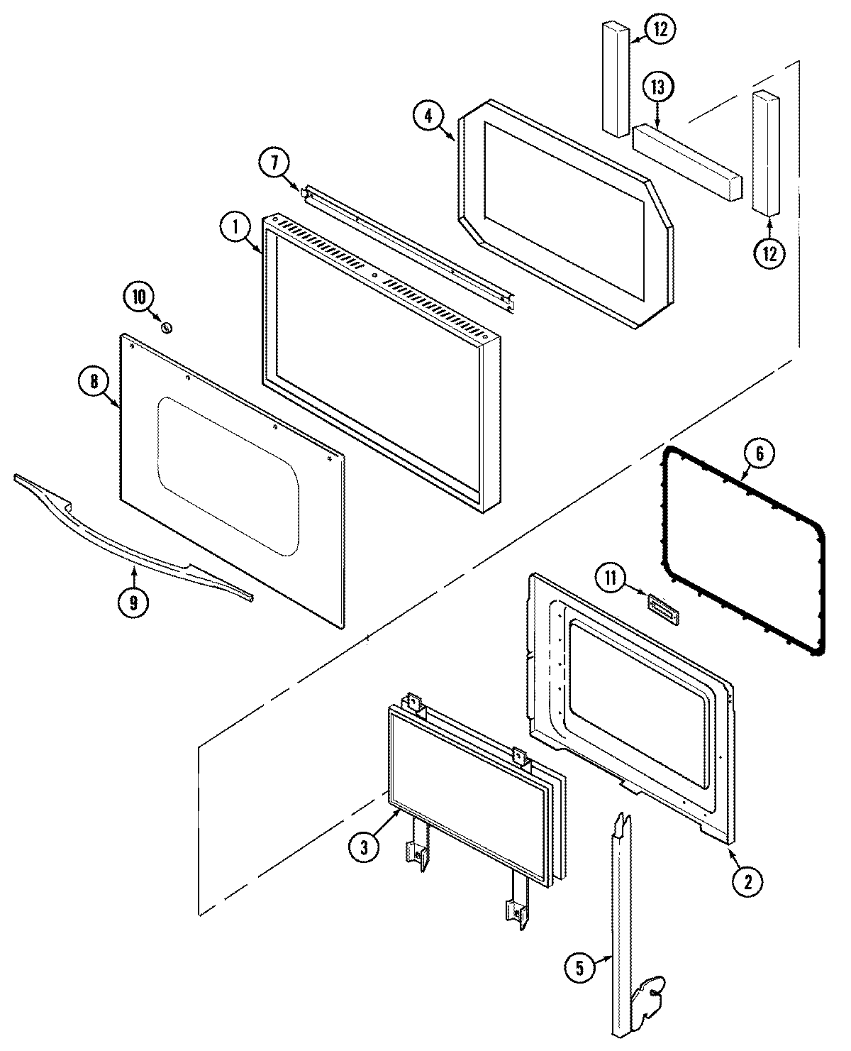
WM27260W 03 – DOOR