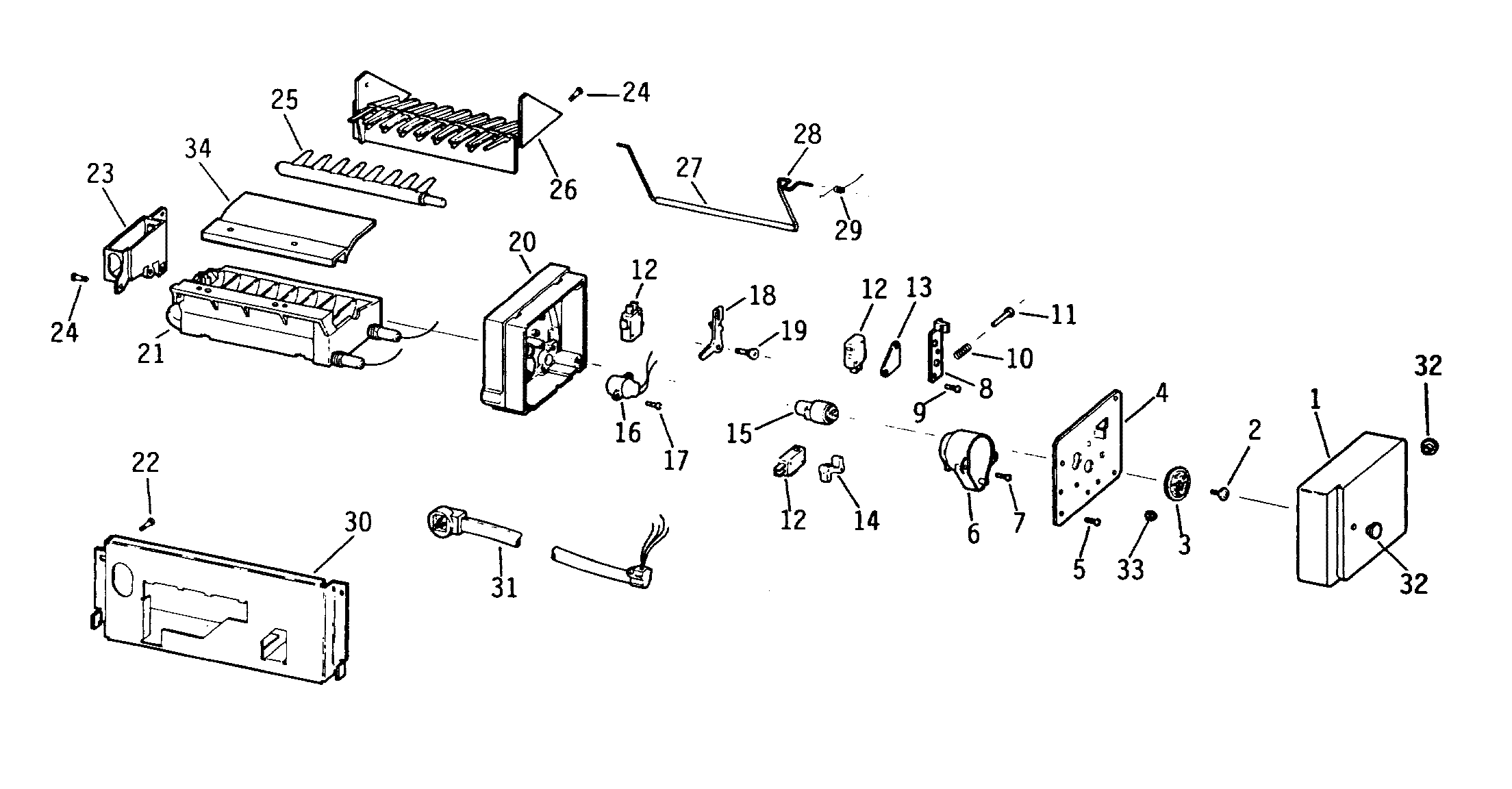
WR30X0284 ICEMAKER