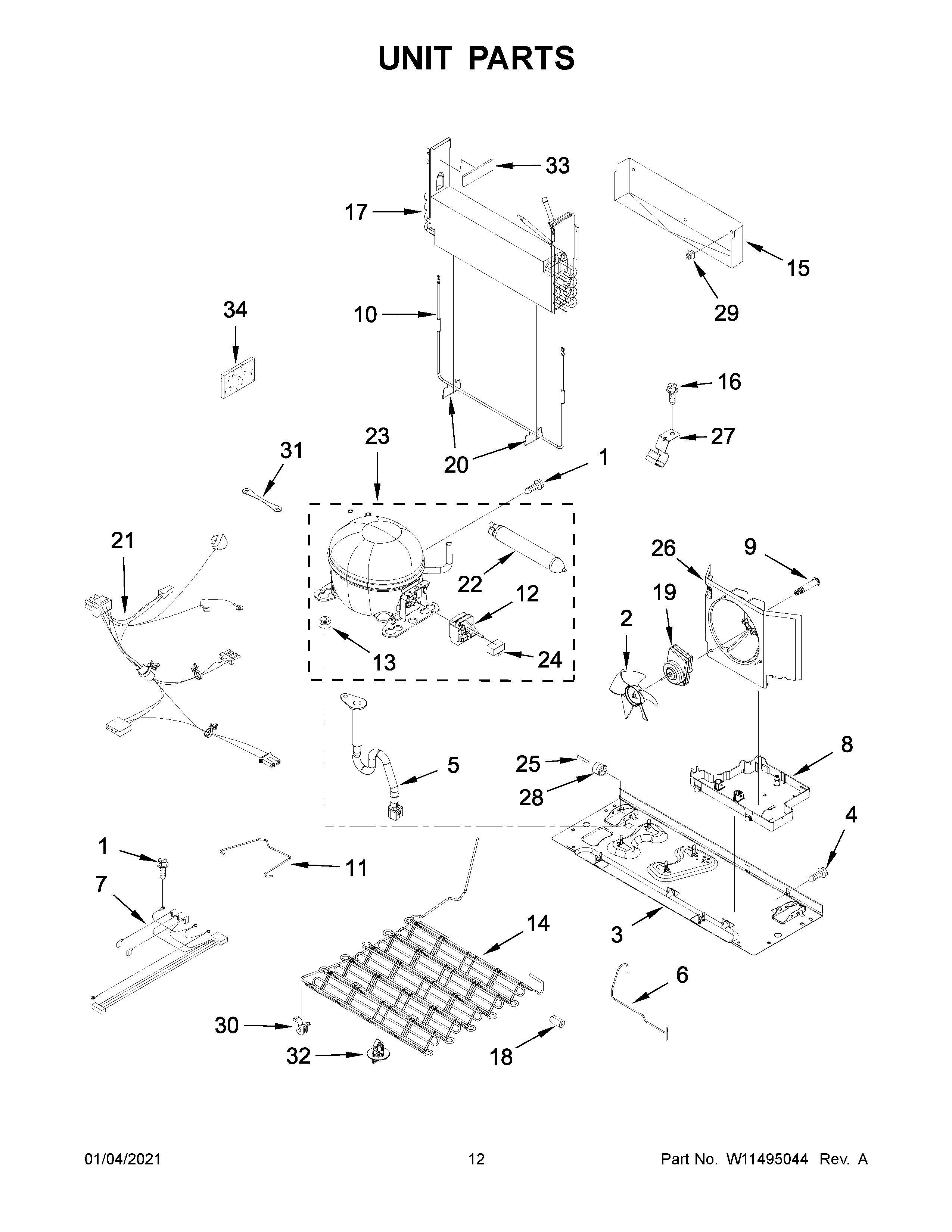
WRB119WFBW02 07 – UNIT PARTS

WRB119WFBW02 07 – UNIT PARTS

Products

PositionProduct
NI978030 Whirlpool Refrigerator Valve
NIVALVE, ACCESS (5/8``)
NI876764 Whirlpool Refrigerator Primary Valve
NI978026 Whirlpool Refrigerator Primary Valve
NI978027 Whirlpool Refrigerator Primary Valve
NICABINET (NOT A SERVICEABLE PART)
NIWP978025 Whirlpool Refrigerator Valve
112992301 Whirlpool Refrigerator Screw
2WP12825803 Whirlpool Refrigerator Fan Blade
3W10480107 Whirlpool Refrigerator Plate
467006425 Whirlpool Refrigerator Screw
5W10619951 Whirlpool Drain Tube with Grommet
6TUBE, DISCHARGE
7W11260592 Whirlpool Refrigerator Wire Harness
8WPW10655367 Whirlpool Refrigerator Drip Pan
9W10829281 Whirlpool Refrigerator Screw
10WP12729127 Whirlpool Refrigerator Heater
11W11092534 Whirlpool Refrigerator Clip
12W10873801 Whirlpool Start Device
13WPW10169124 Whirlpool Refrigerator Grommet
14CONDENSER (ALSO ORDER THE FOLLOWING LOKRING PARTS)
15TRAY, DRIP
16WP33001882 Whirlpool Screw
17W10920993 Whirlpool Refrigerator Evaporator
18W10852725 Whirlpool Refrigerator Grommet
19W11613295 Whirlpool Condenser Motor
20W11673433 Whirlpool Clip
21W11218258 Whirlpool Refrigerator Wire Harness
22WPW10143759 Whirlpool Dryer Filter
23W10233960 Whirlpool Refrigerator Compressor
24WPW10350564 Whirlpool Refrigerator Freezer Capacitor
2567006434 Whirlpool Axle Pin
26W11556315 Whirlpool Shroud
27W10281329 Whirlpool Clamp
28WP67005149 Whirlpool Roller
29CLIP, EVAP (2)
30WPW10137529 Whirlpool Refrigerator Grommet
31W10236396 Whirlpool Refrigerator Strap
32W10815863 Whirlpool Clip
33W11451451 Whirlpool Refrigerator Gasket
34W11553819 Whirlpool Refrigerator Insulation