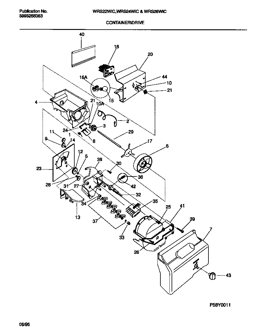
WRS22WICD0 09 – CONTAINER/DRIVE