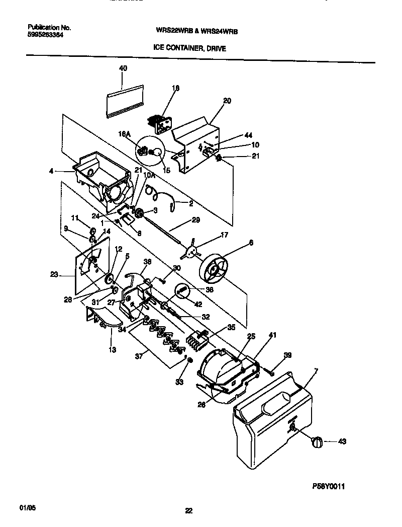
WRS22WRBD1 09 – ICE CONTAINER, DRIVE