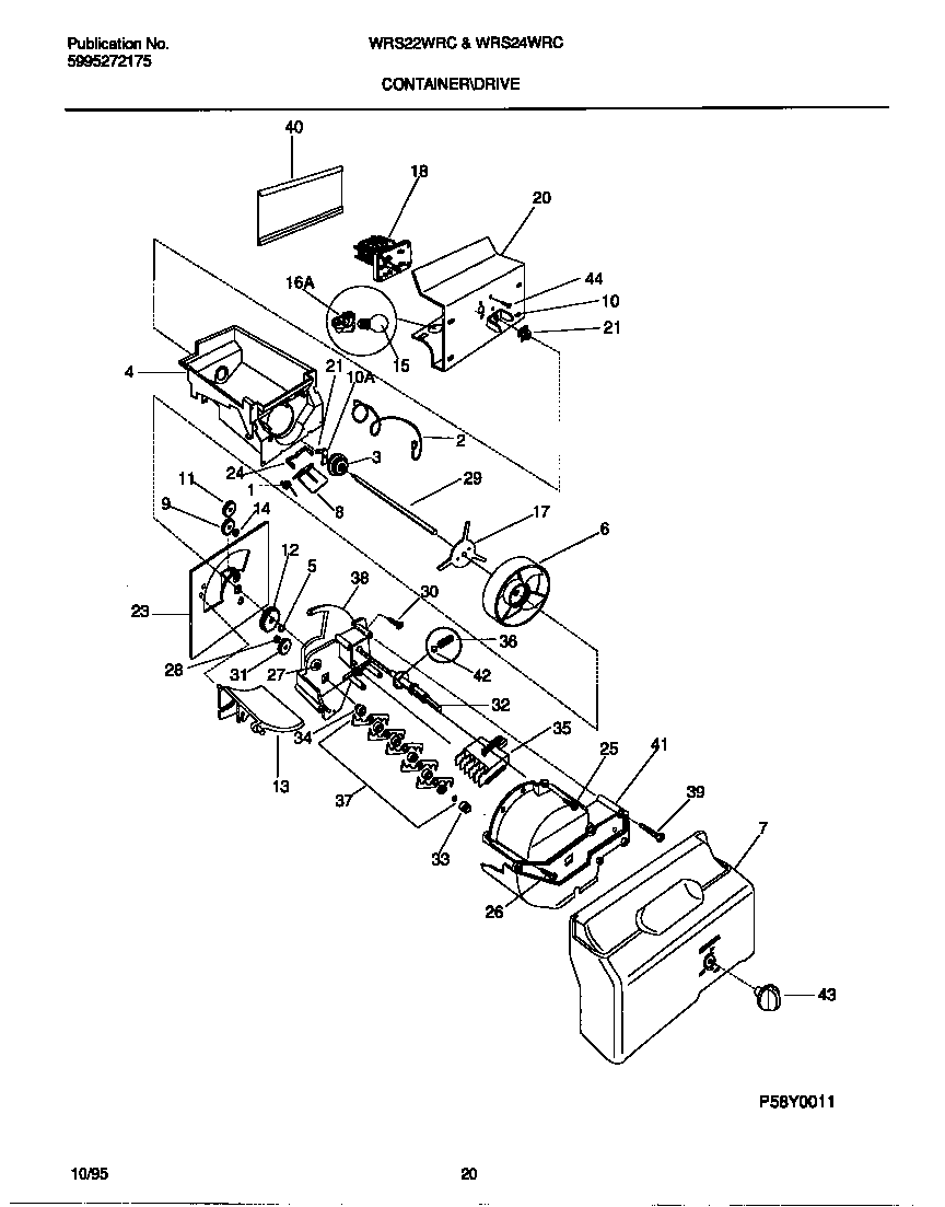
WRS22WRCW1 09 – CONTAINER/DRIVE