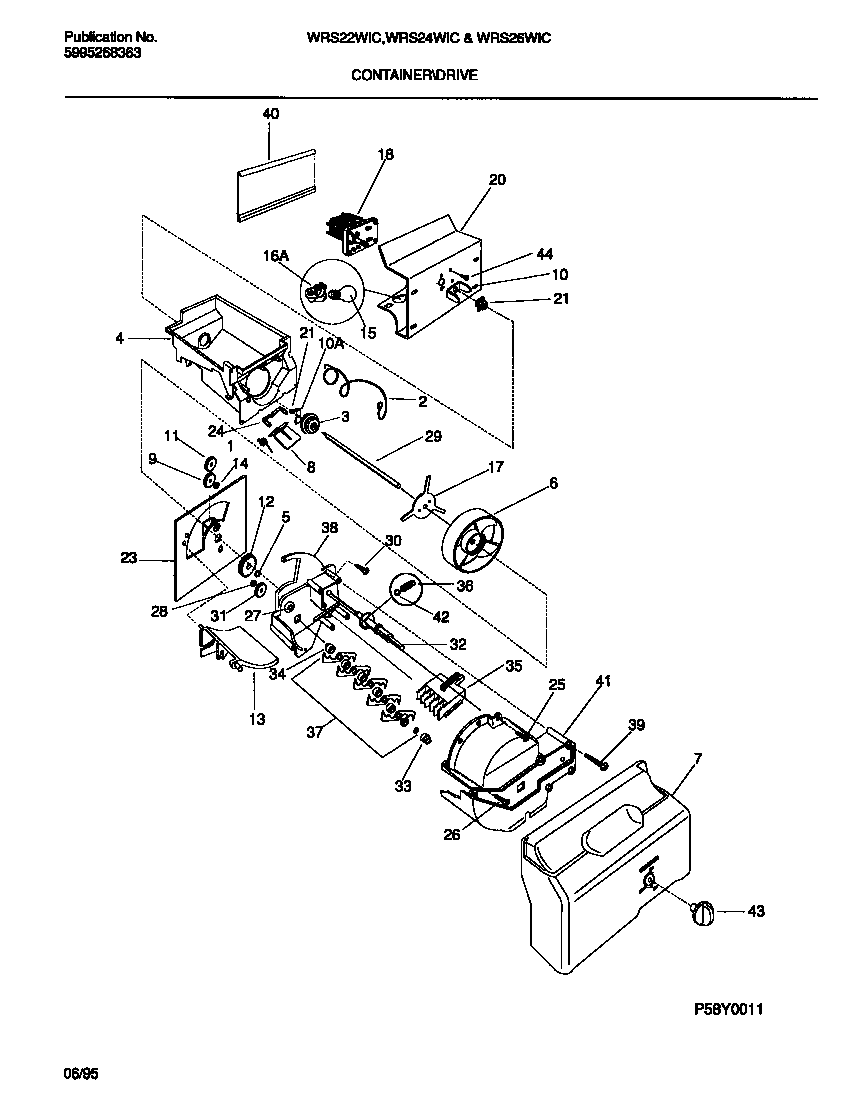
WRS26WICW0 09 – CONTAINER/DRIVE